Запчасти Case CX36B (01-028[02]) - POWER TAKE-OFF ASSY (35) - HYDRAULIC SYSTEMS

Схема запчастей Case CX36B - (01-028[02]) - POWER TAKE-OFF ASSY (35) - HYDRAULIC SYSTEMS
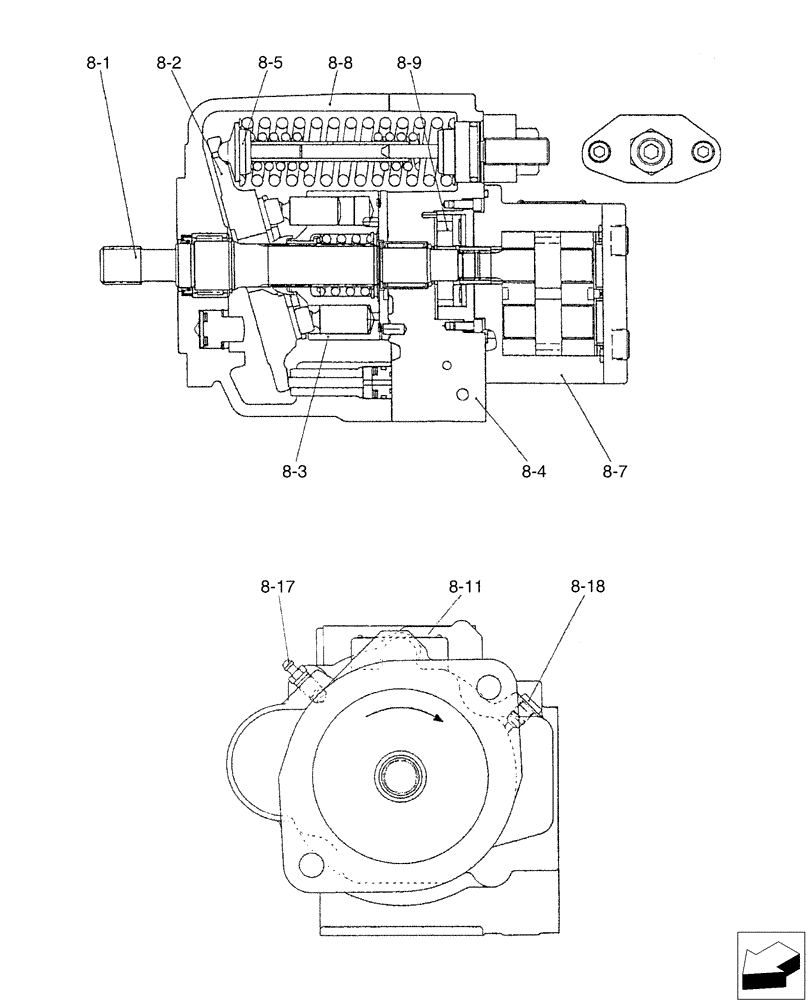
8-18
8-3
8-7
8-17
8-8
8-1
8-9
8-2
8-5
8-11
8-4
FIT
1:1
100%

Артикул

Название

Примечание

Количество

PX10V00012F1

HYDRAULIC PUMP

Assembly, Incl 8-1 - 8-18

1шт.

8-1

PX10V01004F1

SHAFT ASSY.

1шт.

8-2

PX10V01005F1

BLOCK ASSY.

Assy.

1шт.

8-3

PX10V01006F1

ROTATOR

Piston Assy.

1шт.

8-4

PX10V01007F1

COVER ASSY

1шт.

8-5

PX10V01008F1

SPRING

Assy.

1шт.

8-7

PX10V00014F1

PUMP

Gear

1шт.

8-8

PX10V01009F1

HOUSING

1шт.

8-9

PX10V00015F1

PUMP

Hyd.

1шт.

8-11

PM10V00013S011

LABEL

Name Plate

1шт.

8-17

PY10V00007S017

BREATHER

1шт.

8-18

2441U720S49

PLUG

1шт.

Выбрано товаров: 12