Качественные детали и логистика
Оригинальные и аналоговые запчасти с доставкой по России, Казахстану и Беларуси
©2022 PartSell ООО "Система" ИНН 2463123282 ОГРН 1212400004838
Центральный офис: г. Красноярск, Академика Киренского, д.87, пом.4
Телефон: 8 (800) 777-65-74 Email: zakaz@partsell.ru
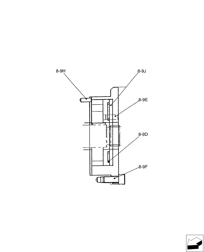
(01-028[05]) - POWER TAKE-OFF ASSY
№
Артикул
Название
Примечание
Количество
PX10V00015F1
PUMP
Assembly, Incl 8-9D - 8-9J
1шт.
8-9d
PX10V00015S004
O-RING
8-9e
LE10V01001S039
PIN
Spring
8-9f
PH10V00007S006
CAPSCREW
3шт.
8-9h
ZP26D03008
8-9j
PM10V00015S009
PLATE
Выбрано товаров: 0