Запчасти Case CX36B (01-030[04]) - VALVE INSTAL (35) - HYDRAULIC SYSTEMS

Схема запчастей Case CX36B - (01-030[04]) - VALVE INSTAL (35) - HYDRAULIC SYSTEMS
FIT
1:1
100%

Артикул

Название

Примечание

Количество

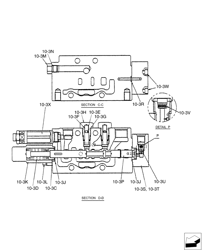
PX30V00050F1

VALVE SECTION

Assembly, Supply & Travel Straight, Incl 10-3C - 10-3X

1шт.

10-3c

PX30V00050S001

SEAT

1шт.

10-3d

PW30V01013S013

SPRING

1шт.

10-3e

PW30V01009S002

POPPET

2шт.

10-3f

PH30V00014S013

SPRING

2шт.

10-3g

ZD12P01100

O-RING

2шт.

10-3h

PW30V01009S005

PLUG

2шт.

10-3j

PW30V01008S011

O-RING

2шт.

10-3k

PM30V00027S015

COVER

1шт.

10-3l

PM30V00021S014

SCREW

Cap

2шт.

10-3m

PX30V00050S012

PLUG

1шт.

10-3n

PX30V00050S013

O-RING

1шт.

10-3p

PX30V00050S014

PISTON

1шт.

10-3r

ZD12P00600

O-RING

1шт.

10-3s

PX30V00050S016

CAP

Body

1шт.

10-3t

2436U1317S22

PLUG

1шт.

10-3u

PX30V00050S018

ORIFICE

1шт.

10-3v

PX30V00050S019

FILTER

1шт.

10-3w

ZS23C05030

CAPSCREW,Hex Socket Head, M5 x 30mm

3шт.

10-3x

PR22V00004F6

VALVE PRESSURE RELIE

P3 Main Relief

1шт.

Выбрано товаров: 20