Запчасти Case CX36B (01-031[04]) - VALVE INSTAL - ANGLE DOZER (35) - HYDRAULIC SYSTEMS

Схема запчастей Case CX36B - (01-031[04]) - VALVE INSTAL - ANGLE DOZER (35) - HYDRAULIC SYSTEMS
FIT
1:1
100%

Артикул

Название

Примечание

Количество

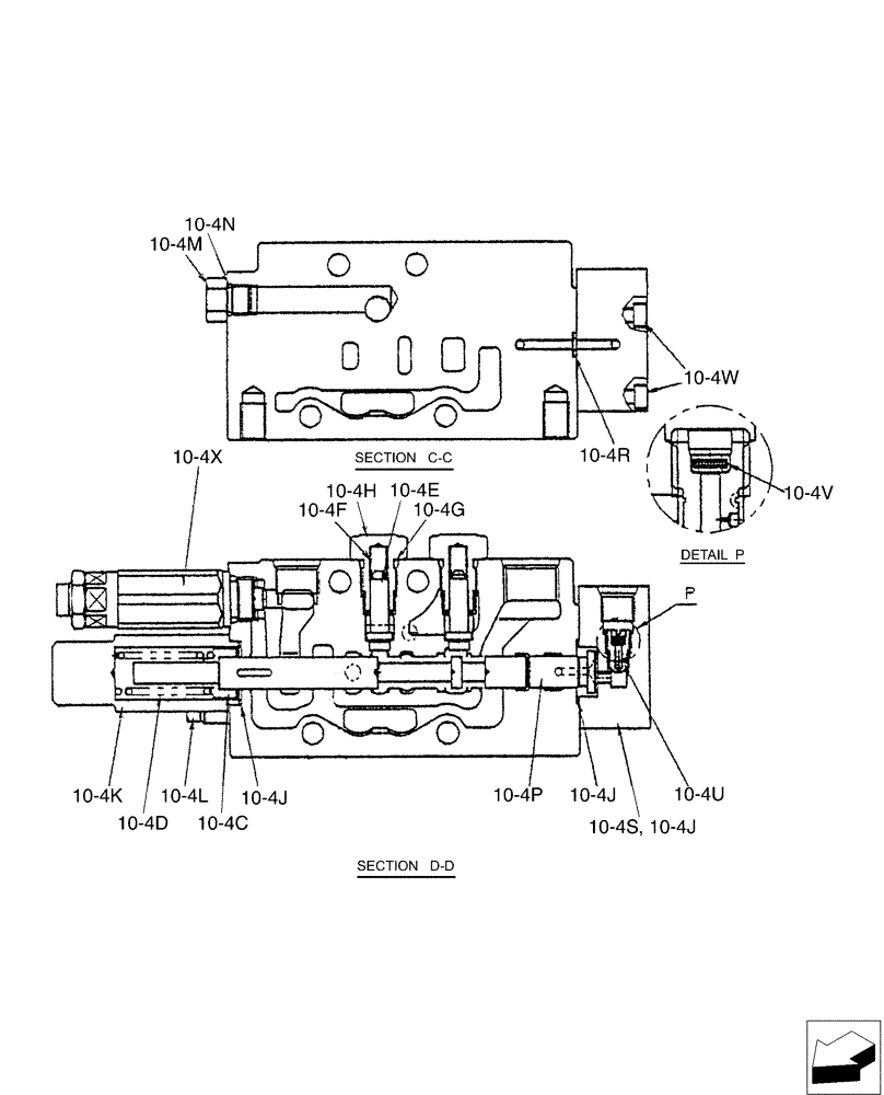
PX30V00050F1

VALVE SECTION

Control, Supply & Travel Straight, Incl 10-4C - 10-4X

1шт.

10-4c

PX30V00050S001

SEAT

1шт.

10-4d

PW30V01013S013

SPRING

1шт.

10-4e

PW30V01009S002

POPPET

2шт.

10-4f

PH30V00014S013

SPRING

2шт.

10-4g

ZD12P01100

O-RING

2шт.

10-4h

PW30V01009S005

PLUG

2шт.

10-4j

PW30V01008S011

O-RING

2шт.

10-4k

PM30V00027S015

COVER

1шт.

10-4l

PM30V00021S014

SCREW

Cap

2шт.

10-4m

PX30V00050S012

PLUG

1шт.

10-4n

PX30V00050S013

O-RING

1шт.

10-4p

PX30V00050S014

PISTON

1шт.

10-4r

ZD12P00600

O-RING

1шт.

10-4s

PX30V00050S016

CAP

Body

1шт.

10-4t

2436U1317S22

PLUG

1шт.

10-4u

PX30V00050S018

ORIFICE

1шт.

10-4v

PX30V00050S019

FILTER

1шт.

10-4w

ZS23C05030

CAPSCREW,Hex Socket Head, M5 x 30mm

3шт.

10-4x

PR22V00004F6

VALVE PRESSURE RELIE

P3 Main Relief

1шт.

Выбрано товаров: 20