Запчасти Case CX36B (01-032[02]) - VALVE INSTAL - LEFT HAND (35) - HYDRAULIC SYSTEMS

Схема запчастей Case CX36B - (01-032[02]) - VALVE INSTAL - LEFT HAND (35) - HYDRAULIC SYSTEMS
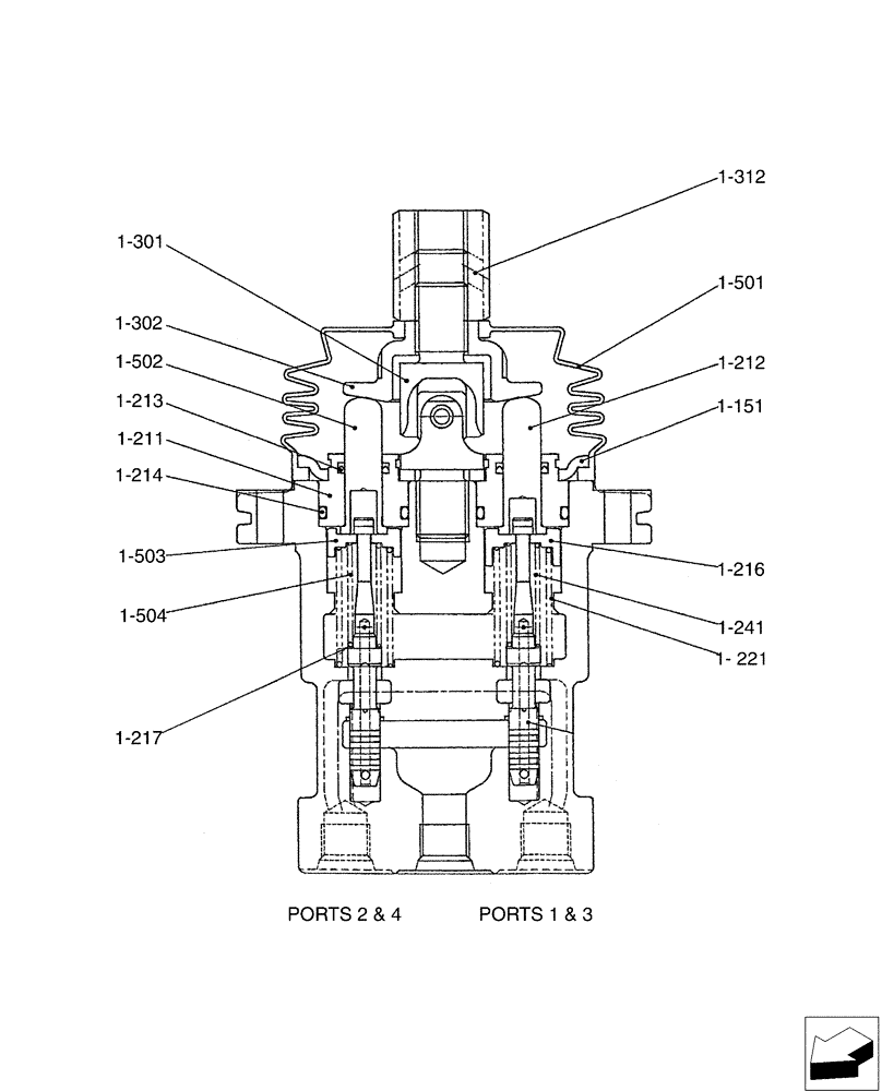
1-312
1-501
1-151
1-504
1-502
1-217
1-212
1-221
1-214
1-302
1-216
1-503
1-301
1-241
1-213
1-211
FIT
1:1
100%

Артикул

Название

Примечание

Количество

PX30V00043F1

VALVE

Assembly, Pilot, Incl 1-151 - 1-504

1шт.

1-151

YT30V00008S151

PLATE

1шт.

1-211

2436U1277S211

PLUG

4шт.

1-212

2436U2155S212

ROD

Push

2шт.

1-213

2436U1277S213

SEAL

Seal

4шт.

1-214

ZD12P02000

O-RING,2.4mm Thk x 19.8mm ID, 90 Duro

4шт.

1-216

PX30V00043S216

SEAT

2шт.

1-217

2436U1277S217

WASHER

4шт.

1-221

PX30V00043S221

SPRING

4шт.

1-241

PX30V00043S241

SPRING

2шт.

1-301

2436U2581S301

FLEXIBLE JOINT

1шт.

1-302

YT30V00008S302

PLATE

1шт.

1-312

2436U1242S312

NUT

1шт.

1-501

YT30V00008S501

BOOT

Cover

1шт.

1-502

PU30V00002S2122

ROD

Push

2шт.

1-503

PX30V00043S503

SEAT

2шт.

1-504

PX30V00043S501

SPRING

2шт.

Выбрано товаров: 17