Запчасти Case CX36B (01-049) - CAB ASSY (05) - SUPERSTRUCTURE

Схема запчастей Case CX36B - (01-049) - CAB ASSY (05) - SUPERSTRUCTURE
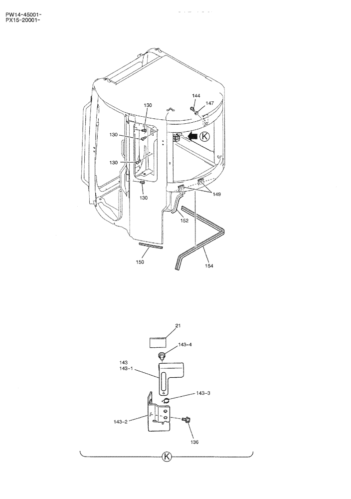
130
144
143
143-4
152
143-1
143-2
21
130
149
150
136
130
143-3
154
130
147
FIT
1:1
100%

Артикул

Название

Примечание

Количество

21

PA33H01057P1

RUBBER

1шт.

130

2420Z1227D2

SCREW

MACHINE

8шт.

136

ZM46C06016

SCREW

SEMS

2шт.

143

PW02C01265F1

BRACKET

ASSY

1шт.

143-1

PW02C01260P1

PLATE

1шт.

143-2

PW02C01261P1

PLATE

1шт.

143-3

PW02C01262P1

SPRING

1шт.

143-4

PM02C01346P1

PIN

2шт.

144

YR02C01503P1

STOP

1шт.

147

ZN17C10006

NUT

1шт.

149

PY02C01087P1

STOP

2шт.

150

PW02C01342D1

WEATHERSTRIP

1шт.

152

PF21C01175D2

RUBBER

1шт.

154

PW02C01353P1

WEATHERSTRIP

1шт.

Выбрано товаров: 14