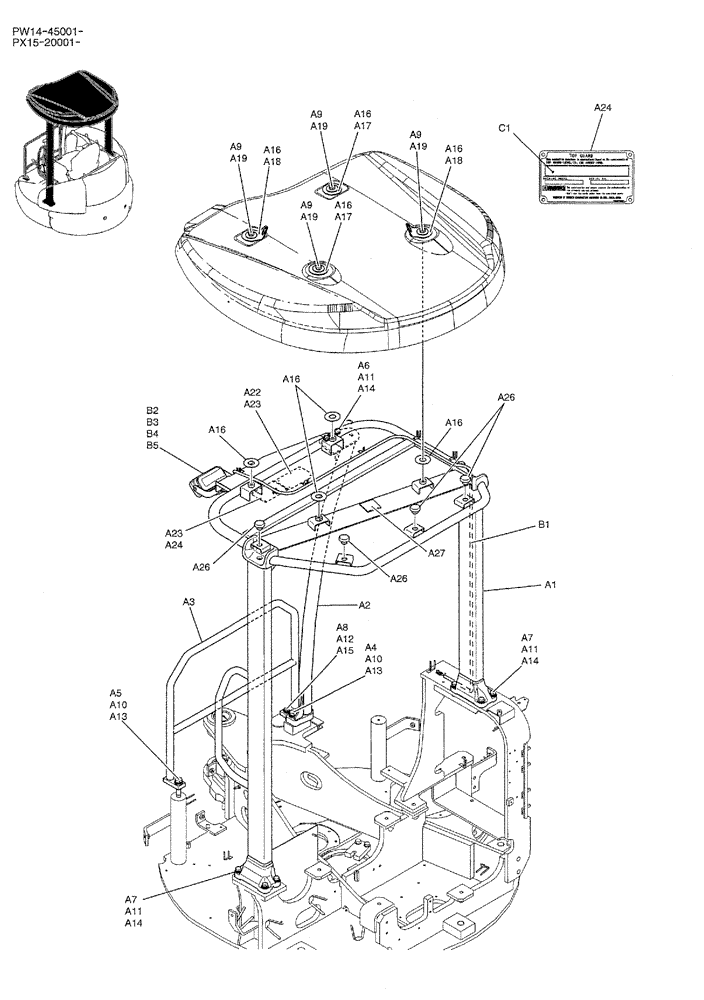
Запчасти Case CX36B (01-054) - CANOPY ASSY (05) - SUPERSTRUCTURE

Схема запчастей Case CX36B - (01-054) - CANOPY ASSY (05) - SUPERSTRUCTURE
a18
a17
a2
a13
a7
a16
a19
a16
a16
a19
a26
a9
a16
a24
a23
a3
a26
a9
a11
a13
a24
a11
a19
a10
b1
a18
a17
a7
a11
a16
b4
b5
c1
a1
a14
a8
b3
b2
a22
a6
a9
a14
a10
a4
a12
a16
a27
a16
a15
a5
a26
a23
a14
a19
a9
FIT
1:1
100%

Артикул

Название

Примечание

Количество

PW06C00036F1

CANOPY

ASSY

1шт.

a1

PW06C01174P1

SUPPORT

1шт.

a2

PW06C01126P1

SUPPORT

1шт.

a3

PW41C00017P1

HANDRAIL

1шт.

a4

ZS18C16065

SCREW,Hex, M16 x 65mm

CAP

1шт.

a5

ZS18C16100

SCREW,Hex, M16 x 100mm

CAP

1шт.

a6

ZS18C12035

SCREW,Hex, M12 x 35mm

CAP

2шт.

a7

ZS18C12055

SCREW,Hex, M12 x 55mm

CAP

8шт.

a8

ZS18C10040

SCREW,Hex, M10 x 40mm

CAP

1шт.

a9

ZS18C12030

SCREW,Hex, M12 x 30mm

CAP

4шт.

a10

ZW26X16000

LOCK WASHER

2шт.

a11

ZW26X12000

LOCK WASHER

10шт.

a12

ZW26X10000

LOCK WASHER

1шт.

a13

ZW16H16000

WASHER

2шт.

a14

ZW16H12000

WASHER

10шт.

a15

ZW16H10000

WASHER

1шт.

a16

PM06C01096P1

RUBBER

8шт.

a17

PM06C01042P1

WASHER

2шт.

a18

PW06C01088P1

PLATE

2шт.

a19

2418T22593

WASHER

4шт.

a22

PW20T01079P1

PLATE

NUMBER

1шт.

a23

PB06C01093D1

RIVET

8шт.

a24

PV20T01018P1

IDENTITY PLATE

NUMBER

1шт.

a26

2420Z1340D1

PLUG

4шт.

a27

PM03M01339P1

RUBBER

1шт.

PW80E00006F1

LIGHT

INSTAL

1шт.

b1

PW11E01026D4

HARNESS

1шт.

b2

PW80S00003F1

LIGHT ASSY.

SEE FIG. 01-058

1шт.

b3

ZN17F12007

NUT

1шт.

b4

ZW26X12000

LOCK WASHER

1шт.

b5

ZW16X12000

WASHER

1шт.

PW22T00169F1

INSTAL

1шт.

c1

PW20T01082P1

LABEL

1шт.

Выбрано товаров: 33