Запчасти Case CX36B (08-008) - CRANK SHAFT & PISTON ENGINE COMPONENTS

Схема запчастей Case CX36B - (08-008) - CRANK SHAFT & PISTON ENGINE COMPONENTS
28
23
15
4
22
2
12
21
27
1
14
7
30
22
3
11
31
10
8
5
17
9
5
FIT
1:1
100%

Артикул

Название

Примечание

Количество

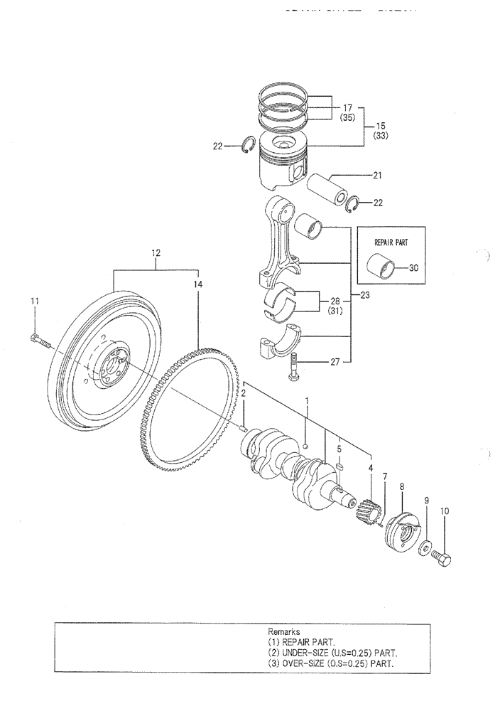
1

VV12900821000

CRANKSHAFT

ASSY

1шт.

2

VV12910001580

PIN,M8 x 16mm

8X16

1шт.

4

VV11980321200

GEAR

CRANKSHAFT

1шт.

5

VV22512070140

KEY,M7 x 14mm

7 X 14

1шт.

7

VV22351030010

PIN

SPRING 3 X 10

1шт.

8

VV12900421650

PULLEY

CRANKSHAFT

1шт.

9

VV12979521661

WASHER

1шт.

10

VV12185021680

BOLT

V-PULLEY

1шт.

11

VV12111121501

BOLT

FLYWHEEL

6шт.

12

VV12912821590

FLYWHEEL

W/RING GEAR

1шт.

14

VV11986521600

GEAR

RING

1шт.

15

VV12900522080

PISTON ASSY

CYL. HEAD

3шт.

17

VV12900522500

PISTON RING SET

3шт.

21

VV12920222300

PISTON PIN

(D26, L70)

3шт.

22

VV22252000260

CIRCLIP

26

6шт.

23

VV72940223100

ROD

ASSY, CONNECTING

3шт.

27

VV12155023200

BOLT

CONNECTING ROD

6шт.

28

VV12915023601

PIN

CRANKPIN

3шт.

30

VV12910023910

BUSHING

3шт.

REPAIR PART

1шт.

31

VV12915023611

PLATE

METAL. U.S=0.25

3шт.

UNDER-SIZE (US=0.25) PART

1шт.

33

VV12900522900

PISTON

W/RING US=0.25

3шт.

OVER-SIZE (O.S.=0.25) PART

1шт.

35

VV12900522950

RING

SET US=0.25

3шт.

OVER-SIZE (O.S.=0.25) PART

1шт.

Выбрано товаров: 26