Запчасти Case CX50B (05-025) - ARM ASY, LONG 1.87M (6FT 2IN) (PY12B00122F1 & PY12B00117F1 & PY12B00073F1) OPTIONAL PARTS

Схема запчастей Case CX50B - (05-025) - ARM ASY, LONG 1.87M (6FT 2IN) (PY12B00122F1 & PY12B00117F1 & PY12B00073F1) OPTIONAL PARTS
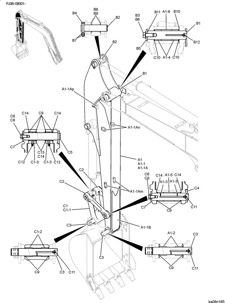
a1-3
c9
b2
c10
c8
c3
c11
a1
b1
a1-1an
c9
c1-2
c1-3
b3
b11
c6
c9
c12
c6
c12
c8
c2
b6
b12
c11
c1-1
b8
a1-1b
a1-4
c14
c9
b1
c14
a1-1am
a1-1ap
b5
c5
a1-3
c14
b2
c7
c10
a1-2
c4
a1-6
c3
c3
c1
c11
c1-3
a1-1
c14
c3
b10
a1-1a
b4
c14
c7
c13
a1-5
b9
b7
c2
FIT
1:1
100%

Артикул

Название

Примечание

Количество

ARM ASSY, LONG (PY12B00122F1)

1шт.

a1

PY12B00129F1

LOADER ARM

ARM ASSY, LONG

1шт.

a1-1

PY12B00124P1

LOADER ARM

ARM, LONG

1шт.

a1-1a

PY12B00100P1

ARM, LONG

1шт.

a1-1am

PV12B01227P1

BLOCK

TAPPED

2шт.

a1-1an

PX12B01185P1

BLOCK

TAPPED

2шт.

a1-1ap

YJ12B01070P1

BLOCK

TAPPED

1шт.

a1-1b

PY12B01114P1

PLATE

1шт.

a1-2

PH12B01100P1

BUSHING,45mm ID x 55mm OD x 46.5mm W

2шт.

a1-3

PY12B01079P1

BUSHING,45mm ID x 55mm OD x 36.5mm L

2шт.

a1-4

PY12B01220P1

BUSHING

BUSHING

2шт.

a1-5

PY12B01213P1

COLLAR,48.8mm ID x 54mm OD x 68mm L

COLLAR

1шт.

a1-6

PY12B01221P1

COLLAR

COLLAR

1шт.

ARM INSTAL (PY12B00117F1)

1шт.

b1

PY12B01228P1

PIN

1шт.

b2

PH12B01084P1

PIN

1шт.

b3

ZS18C24055

CAPSCREW,Hex, M24 x 55mm

CAP

1шт.

b4

HS18C12090G1

SCREW

CAP

1шт.

b5

PH12B01087P1

WASHER

1шт.

b6

ZW16H24000

WASHER

1шт.

b7

ZN18C12010

NUT

2шт.

b8

YJ12B01043P1

SHIM,0.5mm Thk

2шт.

b9

B16T0442D61

SHIM,47mm ID x 70mm OD x 0.9mm Thk

1шт.

b10

PH12B01088P1

SHIM,0.5mm Thk

1шт.

b11

PH12B01115P1

SHIM,0.5mm Thk

2шт.

b12

ZG91S02000

LUBE NIPPLE,1/8" NPT x 1/8" NPT

1шт.

ARM GROUP (PY12B00073F1)

1шт.

c1

PH12B01148F1

LINK CONROD

ASSY, BUCKET

1шт.

c1-1

PH12B01149P1

LINK CONROD

LINK, BUCKET

1шт.

c1-2

PH12B01067P1

BUSHING,45mm ID x 55mm OD x 42mm L

2шт.

c1-3

PY12B01163P1

BUSHING,45mm ID x 55mm OD x 36.5mm L

2шт.

c2

PH12B01101P2

LINK

2шт.

c3

PH12B01114P1

PIN,45mm OD x 287.5mm L

See Bucket Install for retaining pins

2шт.

c4

PY12B01158P1

PIN,45mm OD x 210.5mm L

1шт.

c5

PY12B01159P1

PIN,45mm OD x 219.5mm L

1шт.

c6

ZS18C16030

SCREW,Hex, M16 x 30mm

CAP

2шт.

c7

PW12B01242P1

WASHER

2шт.

c8

ZW16H16000

WASHER

2шт.

c9

2445R138D20

SEAL,45mm ID x 55mm OD x 4mm Thk

DUST

10шт.

c10

2445R138D3

SEAL,60mm ID x 75mm OD x 4mm Thk

DUST

2шт.

c11

ZG91S02000

LUBE NIPPLE,1/8" NPT x 1/8" NPT

3шт.

c12

ZG91U02000

LUBE NIPPLE

2шт.

c13

B16T0442D61

SHIM,47mm ID x 70mm OD x 0.9mm Thk

2шт.

c14

YJ12B01097P1

SHIM,47mm ID x 70mm OD x 0.5mm Thk

6шт.

Выбрано товаров: 44