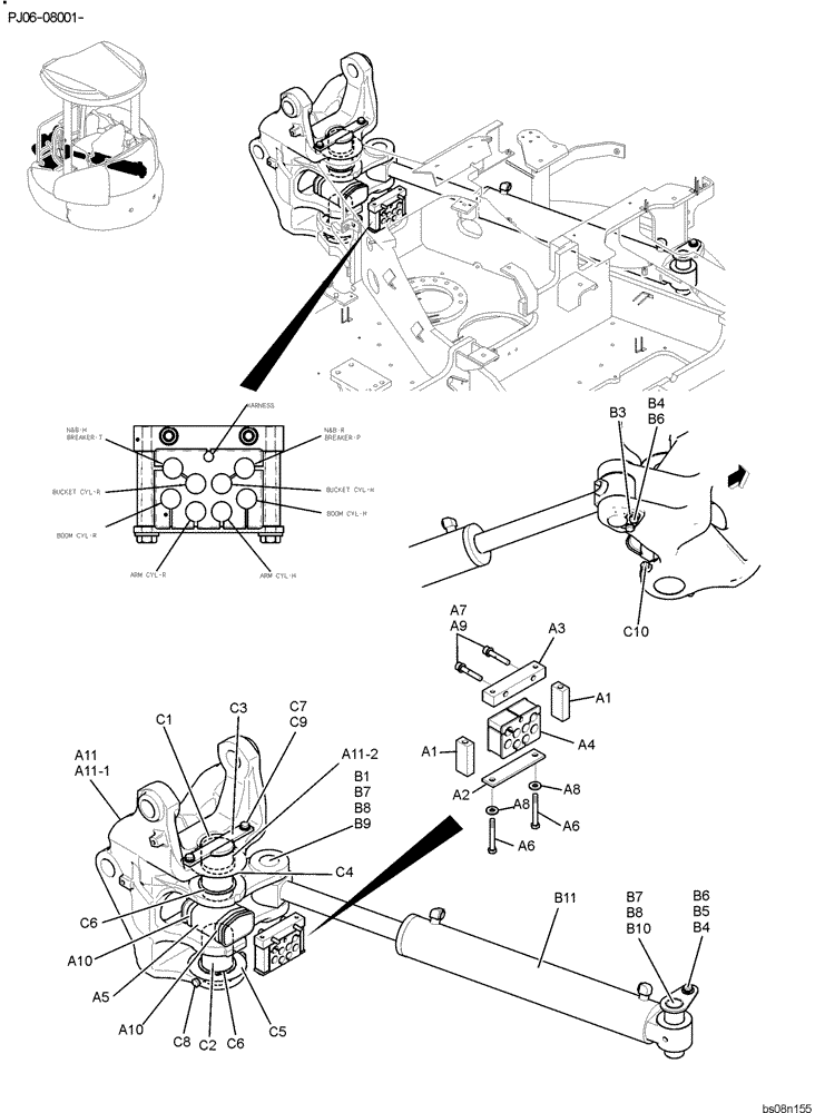
Запчасти Case CX50B (01-003) - BRACKET ASSY, SWING (NIBBLER & BREAKER) (PY02B00118F1 & PY02B00116F1 & PY02B00109F1) (05) - SUPERSTRUCTURE

Схема запчастей Case CX50B - (01-003) - BRACKET ASSY, SWING (NIBBLER & BREAKER) (PY02B00118F1 & PY02B00116F1 & PY02B00109F1) (05) - SUPERSTRUCTURE
b7
a6
a8
b7
a9
c6
a11-1
a11-2
a8
a10
c3
c6
a2
a7
a3
b11
b9
c7
a10
b4
c8
c4
a4
b8
c9
c10
c5
b8
a1
a5
a11
b1
b3
c2
a1
b10
c1
b5
b4
b6
a6
b6
FIT
1:1
100%

Артикул

Название

Примечание

Количество

BRACKET GROUP, SWING (PY02B00118F1),REPLACES PY02B00139F1

1шт.

a1

PY02B01247P1

PLATE

2шт.

a2

PY02B01244P1

PLATE

1шт.

a3

PY02B01245P1

PLATE

PLATE

1шт.

a4

PY02B01246P1

RUBBER INSULATOR

RUBBER

1шт.

a5

PY02B01168P2

GROMMET

1шт.

a6

ZS18C10110

SCREW,Hex, M10 x 110mm

CAP

2шт.

a7

ZS28C10055

SCREW,Hex Socket Head, M10 x 55mm

CAP

2шт.

a8

ZW16H10000

WASHER

2шт.

a9

ZW26X10000

LOCK WASHER

2шт.

a10

YX03H01046P1

CLIP

2шт.

a11

PY02B00093F1

BRACKET

BRACKET ASSY, SWING, REPLACES PY02B00078F1

1шт.

a11-1

PY02B00094P1

BRACKET SWING, REPLACES PY02B00079P2

1шт.

a11-2

PY02B01146P1

BUSHING,80mm ID x 90mm OD x 40.5mm L

1шт.

CYLINDER INSTAL (PY02B00116F1)

1шт.

b1

PY02B01163P1

PIN,50mm OD x 164mm L

1шт.

b3

PH02B01065P1

PLATE

1шт.

b4

ZS18C12025

SCREW,Hex, M12 x 25mm

CAP

3шт.

b5

2418T12345

WASHER

1шт.

b6

ZW26X12000

LOCK WASHER

3шт.

b7

PH02B01067P1

SHIM,0.5mm Thk

6шт.

b8

2418T6856D3

SHIM

(0.9)

2шт.

b9

PY02B01187P1

SHIM,2.0mm Thk

2шт.

b10

PY02B01241P1

PIN

PIN

1шт.

b11

PH01V00031F1

CYLINDER

ASSY, SWING

1шт.

BRACKET INSTAL, SWING (PY02B00109F1)

1шт.

c1

PY02B01233P1

PIN,80mm OD x 154mm L

1шт.

c2

PY02B01234P1

PIN,80mm OD x 140mm L

PIN

1шт.

c3

PY02B01177P1

PLATE

1шт.

c4

PH02B01051P1

WASHER

1шт.

c5

PH02B01066P1

SHIM,0.5mm Thk

1шт.

c6

2445R138D7

SEAL,80mm ID x 95mm OD x 4mm Thk

SEAL, DUST

2шт.

c7

ZS18C12025

SCREW,Hex, M12 x 25mm

CAP

2шт.

c8

HS18C12170G1

SCREW

CAP

1шт.

c9

ZW16H12000

WASHER

2шт.

c10

ZN18C12010

NUT

2шт.

Выбрано товаров: 36