Запчасти Case CX50B (03-009) - BUCKET ASSY, 650W (PY61B00095F1) Attachments

Схема запчастей Case CX50B - (03-009) - BUCKET ASSY, 650W (PY61B00095F1) Attachments
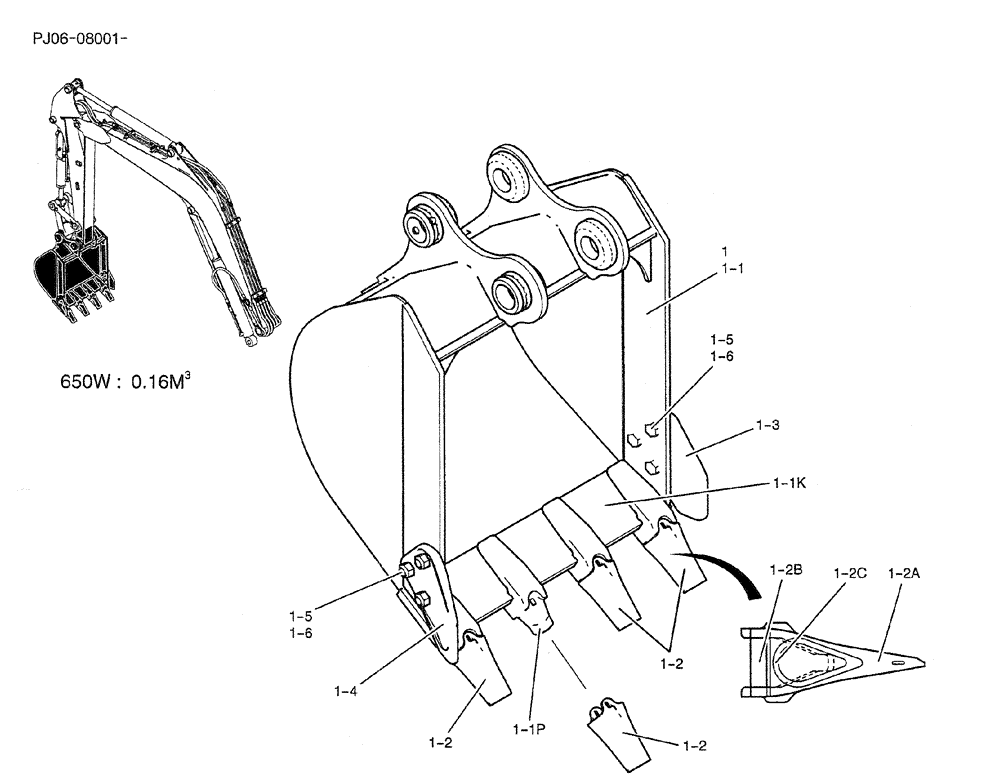
1-2
1-1p
1-5
1-3
1-4
1-1k
1-2a
1
1-6
1-6
1-5
1-2
1-1
1-2c
1-2b
1-2
FIT
1:1
100%

Артикул

Название

Примечание

Количество

PY61B00095F1

BUCKET

ASSY, 650W

1шт.

1

PY61B00096F1

BUCKET

BUCKET ASSY, 650W

1шт.

1-1

PY61B00097P1

BUCKET

1шт.

1-1k

PY61B01019P1

PLATE

EDGE, CUTTING

1шт.

1-1p

YJ61B01001P1

ADAPTER

ADAPTER

4шт.

1-2

YJ69B00002F1

BUCKET TOOTH

TOOTH ASSY

4шт.

1-2a

YJ69B00002S001

BUCKET TOOTH

TOOTH

1шт.

1-2b

YJ69B00002S002

PIN

LOCKING

1шт.

1-2c

YJ69B00002S003

RUBBER

LOCK, RUBBER

1шт.

1-3

PH69B00003P1

CUTTING EDGE

SIDE

1шт.

1-4

PH69B00004P1

CUTTING EDGE

SIDE

1шт.

1-5

ZS13C16040

SCREW

CAP

6шт.

1-6

ZN13C16013

NUT

6шт.

Выбрано товаров: 13