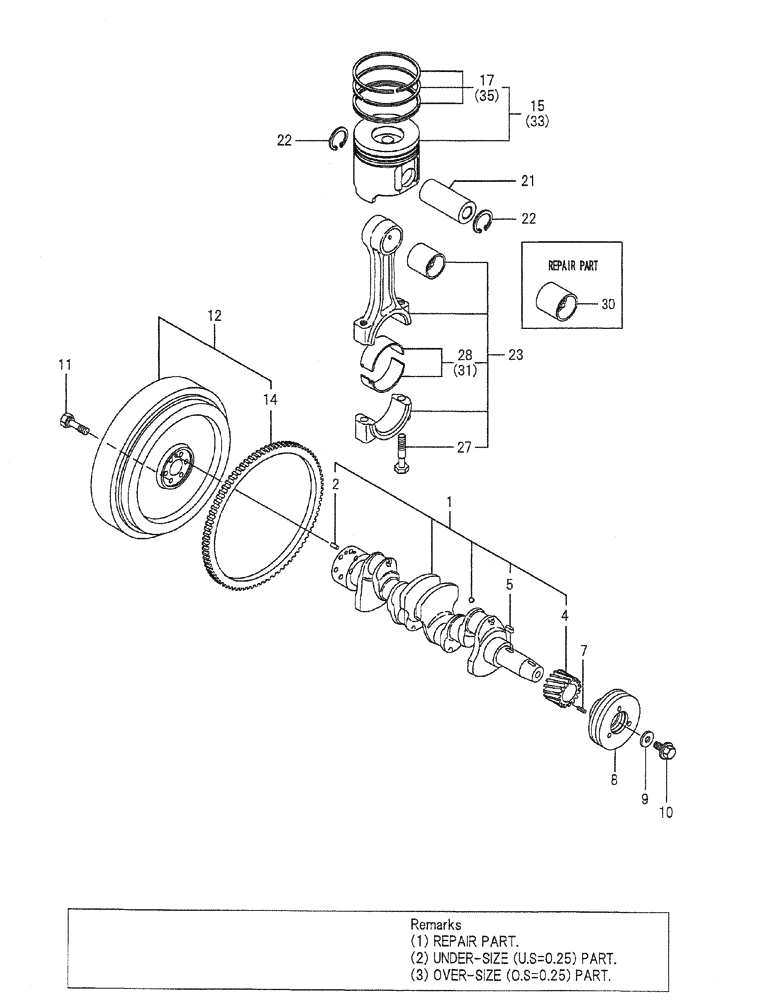
Запчасти Case CX50B (08-008) - CRANKSHAFT & PISTON ENGINE COMPONENTS

Схема запчастей Case CX50B - (08-008) - CRANKSHAFT & PISTON ENGINE COMPONENTS
23
1
22
28
4
30
21
33
35
22
9
27
15
8
14
12
2
10
7
17
31
5
11
FIT
1:1
100%

Артикул

Название

Примечание

Количество

1

VV12960421000

CRANKSHAFT

CRANKSHAFT ASSY

1шт.

2

VV12910001580

PIN,M8 x 16mm

PARALLEL 8X16

1шт.

4

VV11980321200

GEAR

GEAR, CRANKSHAFT

1шт.

5

VV22512070140

KEY,M7 x 14mm

7 X 14

1шт.

7

VV22351030010

PIN

SPRING, 3 X 10

1шт.

8

VV11980221650

PULLEY

V-PULLEY, CRANKSHAFT

1шт.

9

VV12979521661

WASHER

1шт.

10

VV12185021680

BOLT

V-PULLEY

1шт.

11

VV12111121501

BOLT

FLYWHEEL

6шт.

12

VV12948921590

FLYWHEEL

ASSY

1шт.

14

VV11986521600

GEAR

RING

1шт.

15

VV12900522080

PISTON ASSY

4шт.

17

VV12900522500

PISTON RING SET

4шт.

21

VV12920222300

PISTON PIN

(D26, L70)

4шт.

22

VV22252000260

CIRCLIP

26

8шт.

23

VV72940223100

ROD

ASSY, CONNECTING

4шт.

27

VV12155023200

BOLT

CONNECTING ROD

8шт.

28

VV12915023601

PIN

METAL, CRANKPIN

4шт.

30

VV12910023910

BUSHING

BUSH, REPAIR PART

4шт.

31

VV12915023611

PLATE

METAL.PIN

4шт.

UNDER SIZE (US = 0.25) PART

1шт.

33

VV12900522900

PISTON

W/RING

4шт.

OVER SIZE (O.S = 0.25) PART

1шт.

35

VV12900522950

RING

SET

4шт.

OVER SIZE (O.S = 0.25) PART

1шт.

Выбрано товаров: 25