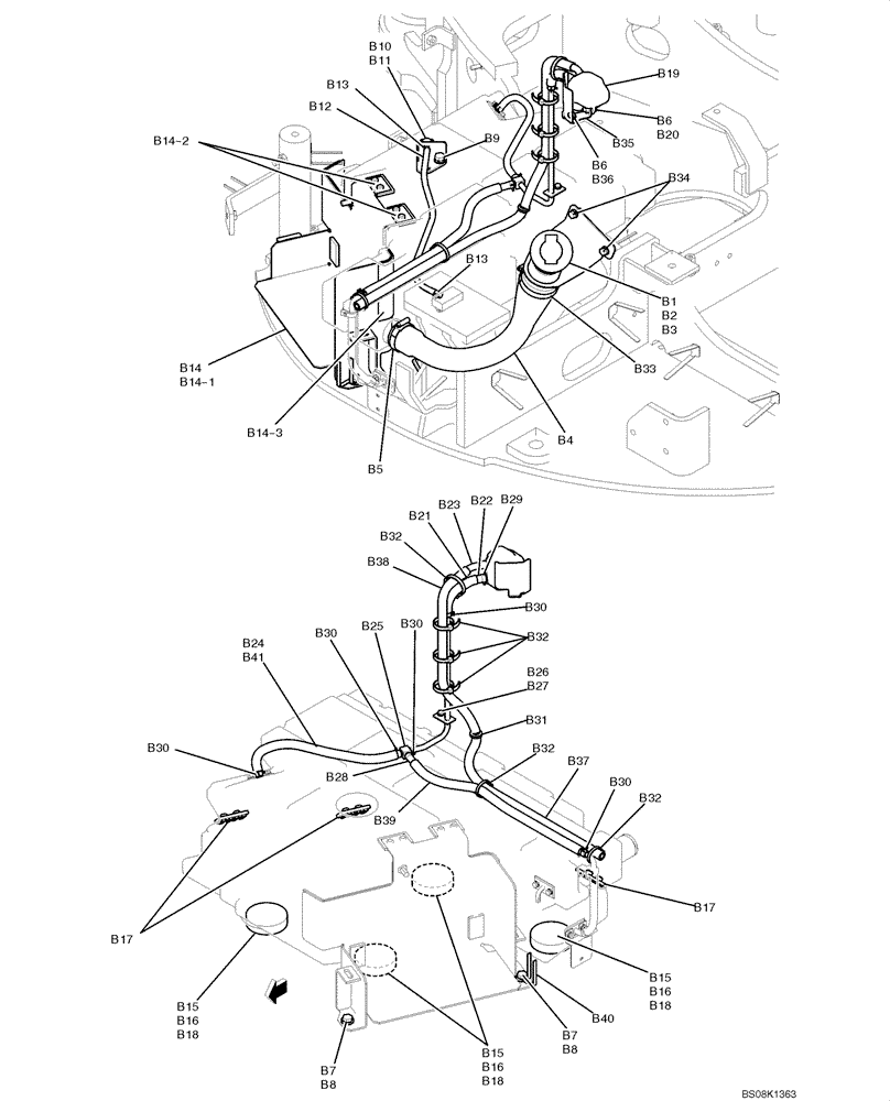
Запчасти Case CX50B (01-015) - TANK ASSY, FUEL (CANOPY) (PH20P00014F1) (05) - SUPERSTRUCTURE

Схема запчастей Case CX50B - (01-015) - TANK ASSY, FUEL (CANOPY) (PH20P00014F1) (05) - SUPERSTRUCTURE
b15
b14
b23
b29
b30
b16
b25
b28
b8
b30
b34
b33
b12
b18
b22
b10
b20
b32
b11
b30
b40
b32
b17
b13
b9
b1
b8
b19
b27
b3
b26
b21
b30
b13
b16
b18
b2
b31
b14-1
b14-3
b7
b14-2
b6
b7
b27
b15
b4
b32
b16
b30
b36
b6
b18
b38
b5
b35
b39
b24
b41
b32
b17
b15
FIT
1:1
100%

Артикул

Название

Примечание

Количество

TANK INSTALLATION, FUEL (PH20P00014F1)

1шт.

b1

PH20P01086P2

NECK FILLER

1шт.

b2

PW20P01282P1

CAP

1шт.

b3

PW50V00009P1

STRAINER ASSY.

1шт.

b4

PW20P01352P1

HOSE

1шт.

b5

ZC16X05000

CLIP

1шт.

b6

ZW16X08000

WASHER,8mm ID x 17mm OD x 1.6mm Thk

2шт.

b7

ZS18C10020

SCREW,Hex, M10 x 20mm

Cap

2шт.

b8

ZW16H10000

WASHER

2шт.

b9

ZM22C10020

BOLT

SEMS

1шт.

b10

YN05P00010S007

COCK, DRAIN

1шт.

b11

PM05P01046P1

BOSS

1шт.

b12

PA21P01005DW

HOSE,7mm ID x 500mm L

1шт.

b13

PH05P01088D6

CLIP

CLIP

2шт.

b14

PH20P01077F1

BRACKET

ASSY

1шт.

b14-1

PH20P01074P1

BRACKET

1шт.

b14-2

PW20P01207P1

RUBBER

2шт.

b14-3

PH20P01079P1

RUBBER

1шт.

b15

ZS18C10016

SCREW,Hex, M10 x 16mm

CAP

4шт.

b16

PW20P01115P1

RUBBER

4шт.

b17

PW20P01207P1

RUBBER

3шт.

b18

ZW16K10000

WASHER

4шт.

b19

PW20P00039P1

TANK

FUEL

1шт.

b20

ZS18C08020

SCREW,Hex, M8 x 20mm

1шт.

b21

PW21P01003D4

TUBE

1шт.

b22

PW20P01348P1

HOSE

1шт.

b23

PM20P01127P1

HOSE

1шт.

b24

PW20P01285D5

HOSE,9mm ID x 340mm L

1шт.

b25

PW20P01353P1

TUBE

1шт.

b26

ZS18C06014

SCREW,Hex, M6 x 14mm

CAP

1шт.

b27

ZW16X06000

WASHER

1шт.

b28

PW20P01285D4

HOSE,9mm ID x 480mm L

1шт.

b29

PH05P01088D7

CLIP,13.6mm - 17.5mm

1шт.

b30

PH05P01088D4

CLIP

5шт.

b31

2420R372D13

GROMMET

1шт.

b32

PY01P01043D3

CABLE TIE,188mm L

4шт.

b33

ZC16X06700

CLIP,58mm - 76mm

1шт.

b34

ZM22C08020

BOLT

SEMS

2шт.

b35

PW20P01318P1

BRACKET

1шт.

b36

ZS18C08014

SCREW,Hex, M8 x 14mm

CAP

1шт.

b37

PU13E01002DC

TUBE

1шт.

b38

PU13E01002D7

TUBE

1шт.

b39

PU13E01002DR

TUBE

1шт.

b40

2432R233D3

CLIP

1шт.

b41

PW21P01003DG

TUBE

1шт.

Выбрано товаров: 45