Запчасти Case CX50B (01-033) - GRIP ASSY, (PW03M01954F1, PW03M01718F1) (05) - SUPERSTRUCTURE

Схема запчастей Case CX50B - (01-033) - GRIP ASSY, (PW03M01954F1, PW03M01718F1) (05) - SUPERSTRUCTURE
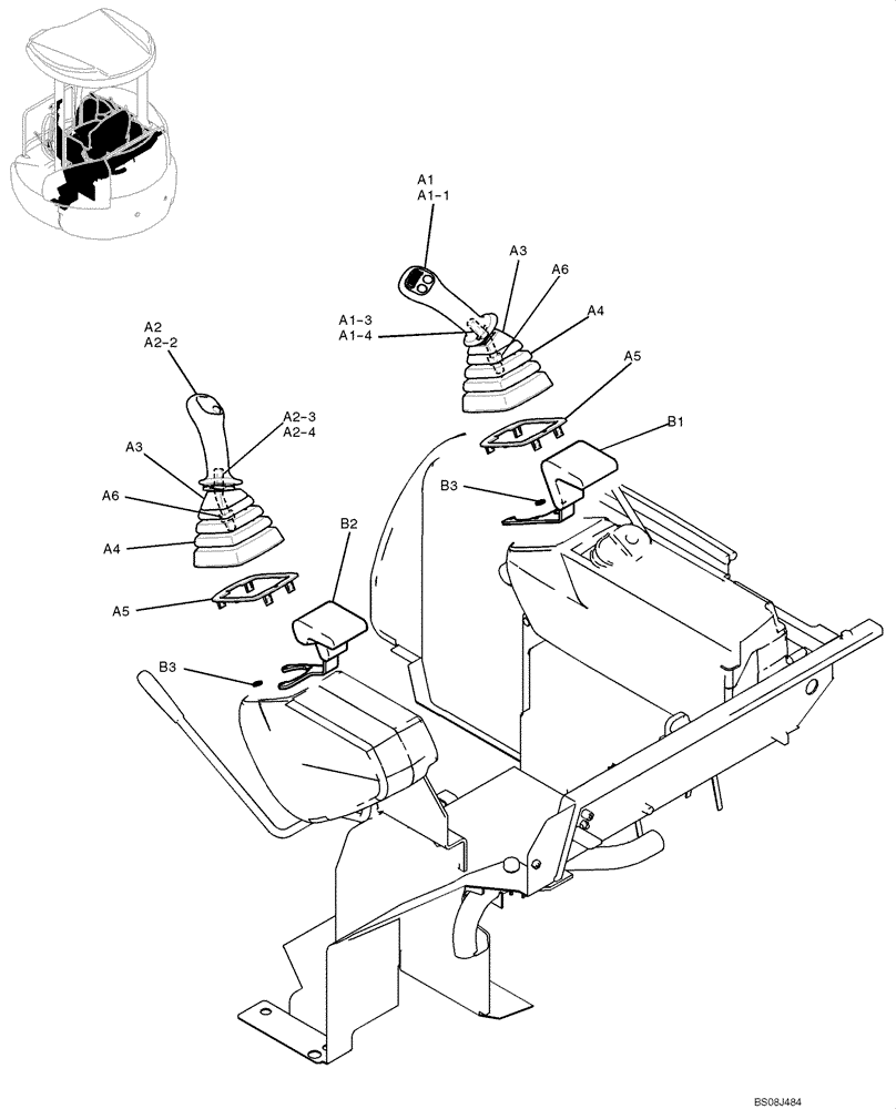
b2
b3
a4
a4
a1-3
a1-4
a2-2
a1-1
a3
a2
a2-3
b3
a3
a5
a6
a1
b1
a6
a5
a2-4
FIT
1:1
100%

Артикул

Название

Примечание

Количество

.

GRIP ASSY, PW03M01954F1

1шт.

a1

PW03M01955F1

GRIP

Assembly, Rotary and Nibbler & Breaker (RH - With 1 Button and Proportional)

1шт.

a1-1

PW03M01958F1

HANDLE

1шт.

a1-3

PW03M01945P1

LEVER

1шт.

a1-4

ZP26D05028

PIN,5mm OD x 28mm L, Slotted

SPRING

1шт.

a2

PW03M01955F3

GRIP

Assembly, Nibbler & Breaker (LH - With 1 Button)

1шт.

a2-2

PW03M01960F1

HANDLE

1шт.

a2-3

PW03M01945P1

LEVER

1шт.

a2-4

ZP26D05028

PIN,5mm OD x 28mm L, Slotted

SPRING

1шт.

a3

LF03M01004P1

BOOT

2шт.

a4

LF03M01008P1

BELLOWS

2шт.

a5

YT03M01051P2

PLATE

2шт.

a6

ZN18C14011

NUT

2шт.

.

SUPPORT ASSY, PW03M01718F1

1шт.

b1

PW03M01745P1

SUPPORT

1шт.

b2

PW03M01746P1

SUPPORT

1шт.

b3

PV03M01135P1

SPACER

2шт.

Выбрано товаров: 0