Запчасти Case CX50B (07-044) - VALVE ASSY, PILOT (PROPELLING) (PM30V00019F7) ELECTRICAL AND HYDRAULIC COMPONENTS

Схема запчастей Case CX50B - (07-044) - VALVE ASSY, PILOT (PROPELLING) (PM30V00019F7) ELECTRICAL AND HYDRAULIC COMPONENTS
FIT
1:1
100%

Артикул

Название

Примечание

Количество

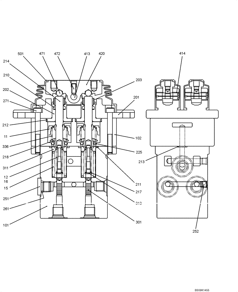
PM30V00019F7

PILOT VALVE

VALVE ASSY, (PROPELLING)

1шт.

11

NSS

NOT SOLD SEPARAT

PISTON

4шт.

12

PM30V00019S012

SPRING

SPRING (F7 ONLY)

4шт.

15

PM30V00019S015

SPRING

SPRING

4шт.

16

PM30V00019S016

SPRING

(F6 ONLY)

4шт.

101

NSS

NOT SOLD SEPARAT

BODY

1шт.

102

NSS

NOT SOLD SEPARAT

BODY

1шт.

201

NSS

NOT SOLD SEPARAT

COVER

2шт.

202

PM30V00019S202

PLUG

4шт.

203

PM30V00019S203

CAP

4шт.

210

PM30V00019S210

PACKING

4шт.

211

PM30V00019S211

O-RING

4шт.

212

YT30V00009S212

O-RING

4шт.

213

ZD12P00800

O-RING,1.9mm Thk x 7.8mm ID, 90 Duro

2шт.

214

NSS

NOT SOLD SEPARAT

ROD, PUSH

4шт.

217

NSS

NOT SOLD SEPARAT

SHIM

4шт.

218

PM30V00019S218

SPRING SEAT

4шт.

225

2436U625S232

BALL

12шт.

251

YW30V00001S157

PLUG

3шт.

252

2441U722S490

PLUG

2шт.

261

ZD12P01100

O-RING

3шт.

271

PM30V00019S271

CAPSCREW

CAP

4шт.

301

NSS

NOT SOLD SEPARAT

SPOOL

4шт.

311

NSS

NOT SOLD SEPARAT

SEAT, SPRING

4шт.

313

NSS

NOT SOLD SEPARAT

WASHER

4шт.

336

PM30V00019S336

SPRING

4шт.

413

NSS

NOT SOLD SEPARAT

SHAFT, CAM

2шт.

414

NSS

NOT SOLD SEPARAT

BUSHING

4шт.

420

NSS

NOT SOLD SEPARAT

CAM

2шт.

471

NSS

NOT SOLD SEPARAT

BALL

4шт.

472

NSS

NOT SOLD SEPARAT

SET SCREW

2шт.

501

PM30V00019S501

BOOT

2шт.

PM30V00019R100

REPAIR KIT

Incl. 210, 211 - 213

1шт.

PM30V00019R300

REPAIR KIT

Incl. 413, 420, 471, 472

1шт.

Выбрано товаров: 34