Качественные детали и логистика
Оригинальные и аналоговые запчасти с доставкой по России, Казахстану и Беларуси
©2022 PartSell ООО "Система" ИНН 2463123282 ОГРН 1212400004838
Центральный офис: г. Красноярск, Академика Киренского, д.87, пом.4
Телефон: 8 (800) 777-65-74 Email: zakaz@partsell.ru
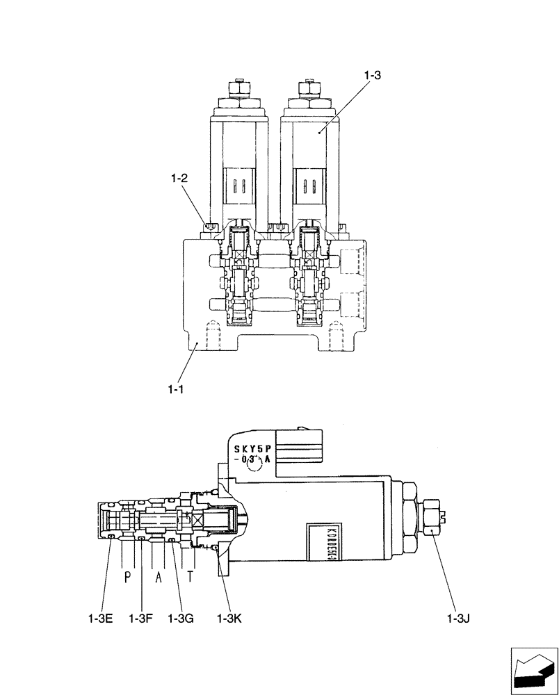
(01-049[01]) - CONTROL LINES, VALVE, N & B PROPORTIONAL
№
Артикул
Название
Примечание
Количество
1-1
PW35V00002S101
BODY
1шт.
1-2
YN35V00047S171
SCREW,Hex Socket Head, M5 x 12mm
Cap
4шт.
1-3
PW35V00003F1
SOLENOID VALVE
Solenoid
2шт.
1-3e
YN35V00004S361
O-RING
1-3f
YN35V00004S362
1-3g
YN35V00004S363
1-3j
YN35V00018S802
NUT
1-3k
ZD12P02000
O-RING,2.4mm Thk x 19.8mm ID, 90 Duro
Выбрано товаров: 0