Запчасти Case CX50B (01-049[02]) - CONTROL LINES, VALVE, ANGLE DOZER (Aug 9 2010 3:07PM) (35) - HYDRAULIC SYSTEMS

Схема запчастей Case CX50B - (01-049[02]) - CONTROL LINES, VALVE, ANGLE DOZER (Aug 9 2010 3:07PM) (35) - HYDRAULIC SYSTEMS
7-19
7-20
7-15
7-7
7-4
7-2
7-12
7-18
7-21
7-1
7-14
7-3
7-13
7-17
FIT
1:1
100%

Артикул

Название

Примечание

Количество

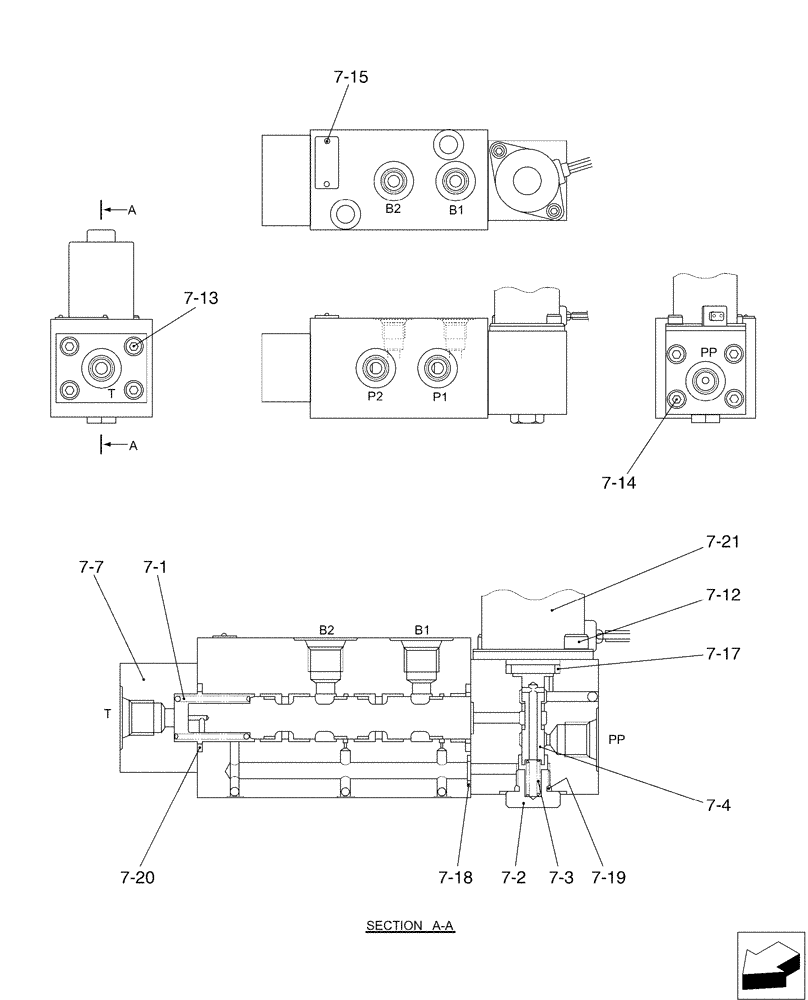
7-1

PE35V00001S001

SPRING

1шт.

7-2

2436U2159S3

PLUG

1шт.

7-3

2436U2802S3

SPRING

1шт.

7-4

YN35V00010S004

SPOOL

1шт.

7-7

YR35V00009S008

COVER

1шт.

7-12

EN35V00004S010

BOLT

2шт.

7-13

ZS23C06030

SCREW,Hex Socket Head, M6 x 30mm

Cap

4шт.

7-14

ZS23C06050

CAPSCREW,Hex Socket Head, M6 x 50mm

4шт.

7-15

YN30V00080S023

SCREW

2шт.

7-17

ZD11P01600

O-RING

1шт.

7-18

ZD12P00800

O-RING,1.9mm Thk x 7.8mm ID, 90 Duro

1шт.

7-19

ZD12P01000

O-RING

1шт.

7-20

ZD12P02100

O-RING,2.4mm Thk x 20.8mm ID, 90 Duro

2шт.

7-21

PY35V00005S005

SOLENOID

Valve

1шт.

Выбрано товаров: 14