Качественные детали и логистика
Оригинальные и аналоговые запчасти с доставкой по России, Казахстану и Беларуси
©2022 PartSell ООО "Система" ИНН 2463123282 ОГРН 1212400004838
Центральный офис: г. Красноярск, Академика Киренского, д.87, пом.4
Телефон: 8 (800) 777-65-74 Email: zakaz@partsell.ru
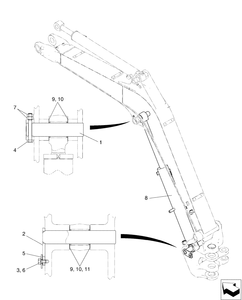
(03-004[01]) - CYLINDER INSTAL, CAB
№
Артикул
Название
Примечание
Количество
1
PH02B01054P1
PIN,50mm OD x 213mm L
1шт.
2
PY02B01267P1
PIN,50mm OD x 263mm L
3
ZS18C12020
SCREW,Hex, M12 x 20mm
Cap
4
HS18C12100G2
SCREW
5
2418T17895
WASHER
6
ZW26X12000
LOCK WASHER
7
ZN18C12010
NUT
2шт.
8
PY01V00049F1
HYDRAULIC CYLINDER
Boom
9
B16T0442D54
SHIM,52mm ID x 80mm OD x 0.5mm Thk
4шт.
10
B16T0442D41
SHIM,80mm OD x 52mm ID x 0.9mm Thk
3шт.
11
B16T0442D24
SHIM,80mm OD x 52mm ID x 2.3mm Thk
Выбрано товаров: 0