Запчасти Case CX50B (01-077[05]) - ELEC ASSY, UPP (55) - ELECTRICAL SYSTEMS

Схема запчастей Case CX50B - (01-077[05]) - ELEC ASSY, UPP (55) - ELECTRICAL SYSTEMS
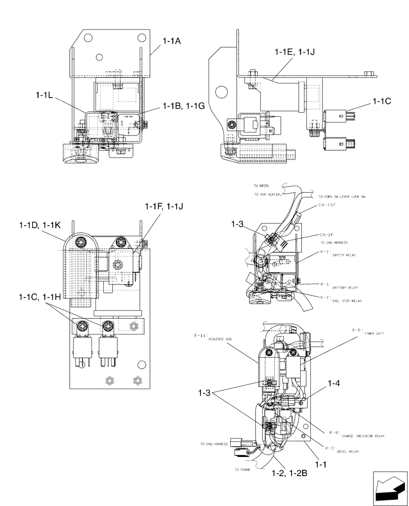
1-3
1-1c
1-3
1-4
1-1k
1-1d
1-1b
1-1f
1-1a
1-1l
1-1j
1-2
1-1e
1-1h
1-1j
1-2b
1-1g
1-1c
1-1
FIT
1:1
100%

Артикул

Название

Примечание

Количество

1-1

PX24E00008F2

KIT

Relay

1шт.

1-1a

PX24E01005P1

BRACKET

1шт.

1-1b

PH24S00001P1

RELAY,12V, 70amp

(Used for Battery, Engine Stop, Light)

1шт.

1-1c

PA24E01001P1

RELAY,12V - 20amp

(Used for Deceleration, Charge Indicator, Cab/Canopy Working Light, Horn, Slew/Swing Select, Slew/Swing Preservation, Nibbler Open/Close)

3шт.

1-1d

PA24S00002P3

RELAY,DC12V

(Used for Sequence Box)

1шт.

1-1e

PX24S00001P1

RELAY

(Used for Safety)

1шт.

1-1f

PH25S00002P1

TIMER

1шт.

1-1g

ZM61C05012

BOLT

Sems

1шт.

1-1h

ZM61C06016

BOLT

Sems

2шт.

1-1j

ZM61C06020

BOLT

Sems

2шт.

1-1k

ZM61C06025

BOLT

Sems

1шт.

1-1l

PX24S00003P1

RELAY

(Used for Engine Stop, Glow)

1шт.

1-2

PH14E01042P1

HARNESS

1шт.

1-2b

PW73E00003F1

FUSE BOX

1шт.

1-3

YN03E01001D5

CLIP

3шт.

1-4

YN22M01006D5

BUSHING,50mm L

1шт.

Выбрано товаров: 0