Запчасти Case CX50B (03-023) - BUCKET ASSY, 550W (84) - BOOMS, DIPPERS & BUCKETS

Схема запчастей Case CX50B - (03-023) - BUCKET ASSY, 550W (84) - BOOMS, DIPPERS & BUCKETS
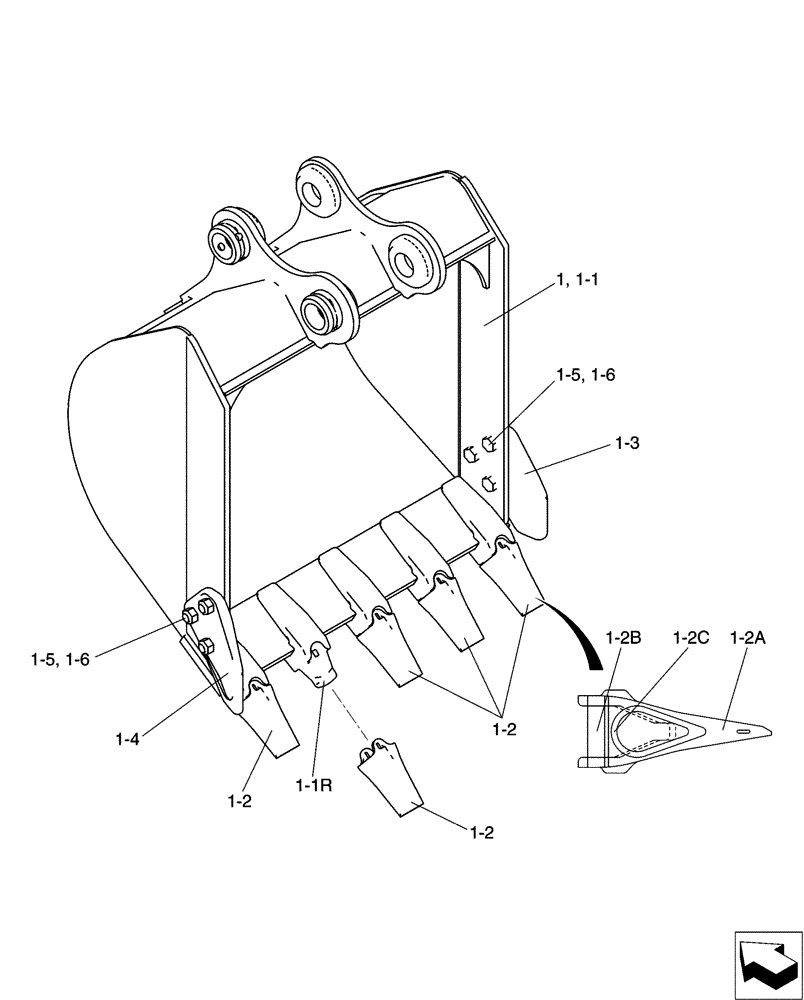
1-2a
1
1-5
1-1
1-2c
1-2
1-6
1-2
1-3
1-2b
1-2
1-6
1-1r
1-4
1-5
FIT
1:1
100%

Артикул

Название

Примечание

Количество

PY61B00101F1

550W

1шт.

1

PY61B00102F1

1шт.

1-1

PY61B00103P1

1шт.

1-1l

PY69B01004P1

Cutting

1шт.

1-1r

YJ61B01001P1

ADAPTER

4шт.

1-2

YJ69B00002F1

BUCKET TOOTH

4шт.

1-2a

YJ69B00002S001

BUCKET TOOTH

1шт.

1-2b

YJ69B00002S002

PIN

1шт.

1-2c

YJ69B00002S003

RUBBER

1шт.

1-3

PH69B00003P1

CUTTING EDGE

Side

1шт.

1-4

PH69B00004P1

CUTTING EDGE

Side

1шт.

1-5

ZS13C16040

SCREW

6шт.

1-6

ZN13C16013

NUT

6шт.

Выбрано товаров: 13