Качественные детали и логистика
Оригинальные и аналоговые запчасти с доставкой по России, Казахстану и Беларуси
©2022 PartSell ООО "Система" ИНН 2463123282 ОГРН 1212400004838
Центральный офис: г. Красноярск, Академика Киренского, д.87, пом.4
Телефон: 8 (800) 777-65-74 Email: zakaz@partsell.ru
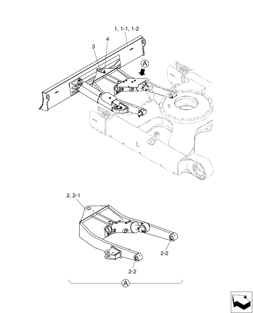
(02-017) - DOZER ASSY, ANGLE DOZER
№
Артикул
Название
Примечание
Количество
PY51B00060F1
(Angle Dozer)
1шт.
1
PY51B00061F1
FRAME
1-1
PY51B01105P1
CUTTING EDGE,65mm W x 1960mm L x 12mm Thk
1-2
PW51B01106P1
BUSHING
2шт.
2
PY51B01129F1
2-1
PY51B01130P1
2-2
2405T1689
BUSHING,40mm ID x 50mm OD x 60mm L
3
PY51B01142P1
PIN
4
ZM73C12030
BOLT,M12x30mm - Course Thread
Sems
Выбрано товаров: 0