Запчасти Case CX50B (01-024[10]) - VALVE INSTAL, ANGLE DOZER (35) - HYDRAULIC SYSTEMS

Схема запчастей Case CX50B - (01-024[10]) - VALVE INSTAL, ANGLE DOZER (35) - HYDRAULIC SYSTEMS
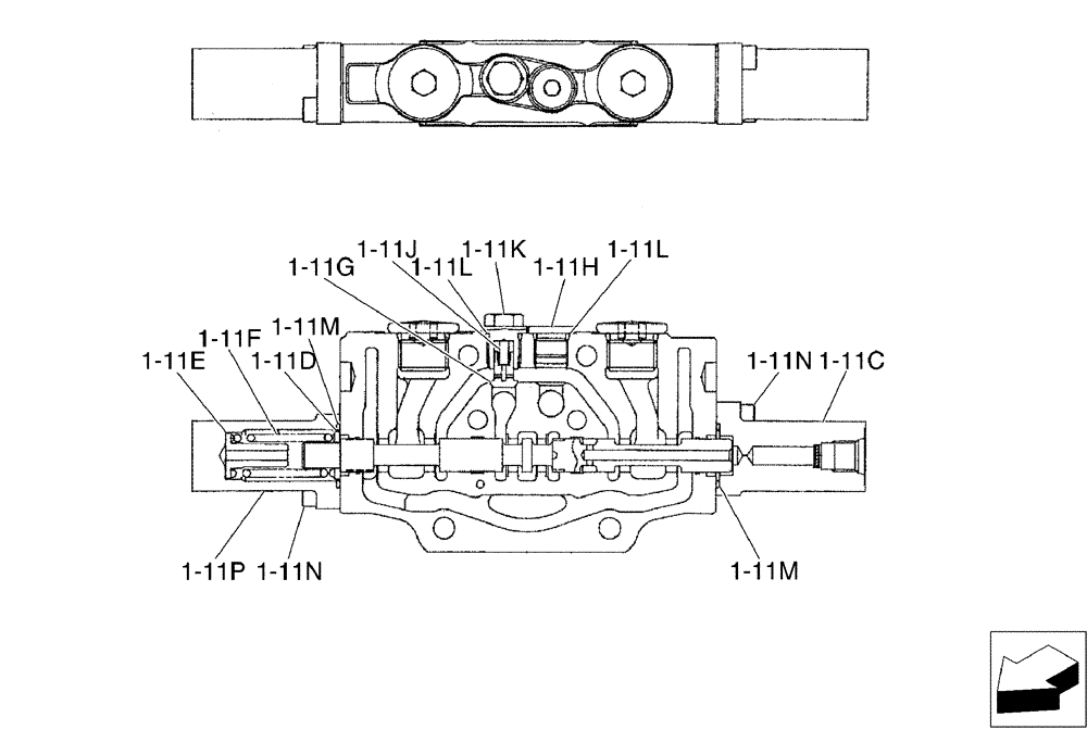
1-11m
1-11k
1-11e
1-11h
1-11c
1-11l
1-11l
1-11d
1-11m
1-11n
1-11n
1-11j
1-11f
1-11g
1-11p
FIT
1:1
100%

Артикул

Название

Примечание

Количество

1-11c

PH30V00061S003

1шт.

1-11d

2436R919S10

SEAT

Spring

1шт.

1-11e

PH30V00053S005

VALVE SEAT

1шт.

1-11f

PH30V00053S006

SPRING

1шт.

1-11g

PH30V00053S007

POPPET

1шт.

1-11h

PH30V00055S007

PLUG

1шт.

1-11j

PH30V00053S009

SPRING

1шт.

1-11k

PH30V00053S010

PLUG

1шт.

1-11l

2436U1192S19

O-RING

2шт.

1-11m

2436R668S3

O-RING

2шт.

1-11n

ZS23C06018

SCREW,Hex Socket Head, M6 x 18mm

4шт.

1-11p

PH30V00061S014

CAP

1шт.

Выбрано товаров: 12