Запчасти Case CX50B (01-024[16]) - VALVE INSTAL, ANGLE DOZER (35) - HYDRAULIC SYSTEMS

Схема запчастей Case CX50B - (01-024[16]) - VALVE INSTAL, ANGLE DOZER (35) - HYDRAULIC SYSTEMS
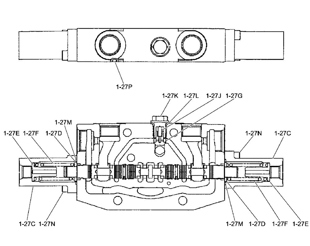
1-27d
1-27c
1-27f
1-27f
1-27k
1-27c
1-27e
1-27j
1-27p
1-27n
1-27d
1-27l
1-27m
1-27m
1-27e
1-27g
1-27n
FIT
1:1
100%

Артикул

Название

Примечание

Количество

1-27c

PH30V00053S003

CAP

2шт.

1-27d

2436R919S10

SEAT

Spring

2шт.

1-27e

PH30V00053S005

VALVE SEAT

2шт.

1-27f

PH30V00053S006

SPRING

2шт.

1-27g

PH30V00053S007

POPPET

1шт.

1-27j

PH30V00053S009

SPRING

1шт.

1-27k

PH30V00053S010

PLUG

1шт.

1-27l

2436U1192S19

O-RING

1шт.

1-27m

2436R668S3

O-RING

2шт.

1-27n

ZS23C06018

SCREW,Hex Socket Head, M6 x 18mm

4шт.

1-27p

ZD11G07000

O-RING,69.40mm ID x 75.60mm OD x 3.10mm

1шт.

Выбрано товаров: 11