Запчасти Case CX50B (01-024[17]) - VALVE INSTAL, ANGLE DOZER (35) - HYDRAULIC SYSTEMS

Схема запчастей Case CX50B - (01-024[17]) - VALVE INSTAL, ANGLE DOZER (35) - HYDRAULIC SYSTEMS
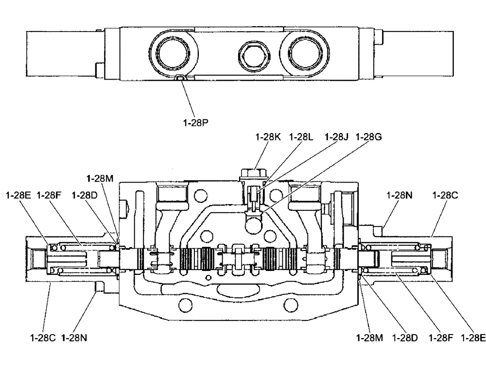
1-28p
1-28d
1-28e
1-28d
1-28k
1-28l
1-28g
1-28n
1-28m
1-28n
1-28e
1-28c
1-28f
1-28m
1-28f
1-28j
1-28c
FIT
1:1
100%

Артикул

Название

Примечание

Количество

1-28c

PH30V00053S003

CAP

2шт.

1-28d

2436R919S10

SEAT

Spring

2шт.

1-28e

PH30V00053S005

VALVE SEAT

2шт.

1-28f

PH30V00053S006

SPRING

2шт.

1-28g

PH30V00053S007

POPPET

1шт.

1-28j

PH30V00053S009

SPRING

1шт.

1-28k

PH30V00053S010

PLUG

1шт.

1-28l

2436U1192S19

O-RING

1шт.

1-28m

2436R668S3

O-RING

2шт.

1-28n

ZS23C06018

SCREW,Hex Socket Head, M6 x 18mm

4шт.

1-28p

ZD11G07000

O-RING,69.40mm ID x 75.60mm OD x 3.10mm

1шт.

Выбрано товаров: 11