Запчасти Case CX50B (07-030) - PUMP ASSY (35) - HYDRAULIC SYSTEMS

Схема запчастей Case CX50B - (07-030) - PUMP ASSY (35) - HYDRAULIC SYSTEMS
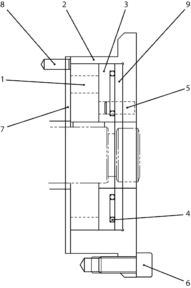
6
3
1
2
9
4
7
8
5
FIT
1:1
100%

Артикул

Название

Примечание

Количество

PH10V00007F1

PUMP

ASSY

1шт.

1

NSS

NOT SOLD SEPARAT

GEAR

1шт.

2

NSS

NOT SOLD SEPARAT

CASE

1шт.

3

NSS

NOT SOLD SEPARAT

PLATE

1шт.

4

PM10V00015S004

O-RING

1шт.

5

LE10V01001S039

PIN

SPRING

1шт.

6

PH10V00007S006

CAPSCREW

CAP

3шт.

7

NSS

NOT SOLD SEPARAT

PLATE

1шт.

8

ZP26D03008

PIN

SPRING

1шт.

9

PM10V00015S009

PLATE

1шт.

Выбрано товаров: 0