Запчасти Case CX50B (08-002) - GEAR HOUSING (10) - ENGINE

Схема запчастей Case CX50B - (08-002) - GEAR HOUSING (10) - ENGINE
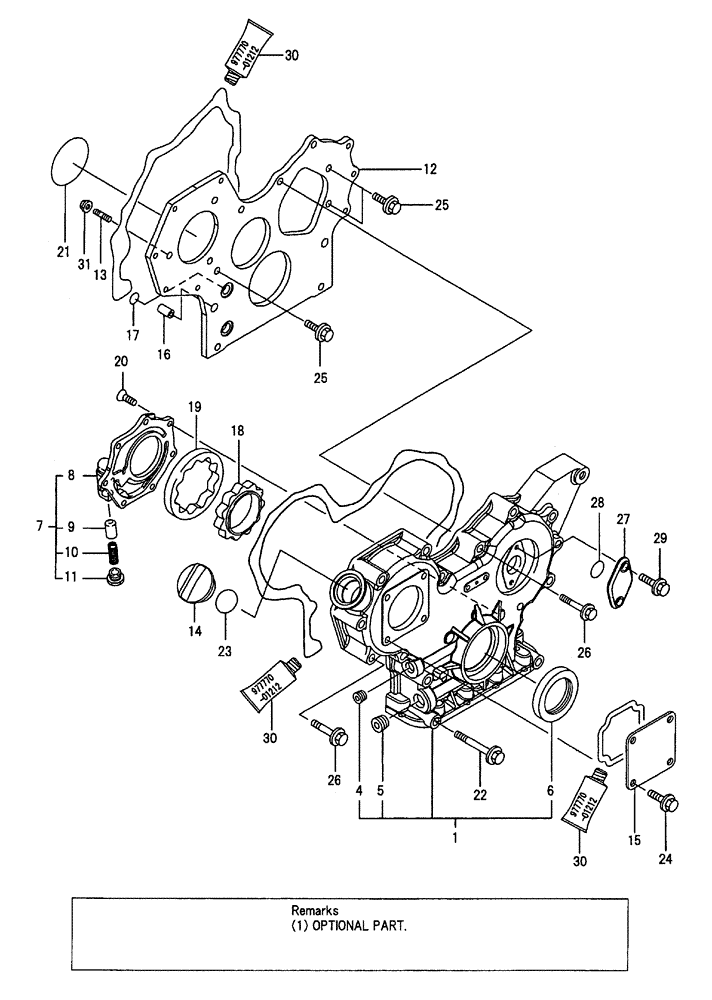
31
18
25
5
19
20
10
4
17
30
22
25
7
11
29
24
9
30
30
16
12
13
8
1
6
27
23
28
25
14
15
21
26
FIT
1:1
100%

Артикул

Название

Примечание

Количество

1

VV71980201500

HOUSING ASSY.

HOUSING ASSY, GEAR

1шт.

4

VV23876030000

PLUG

PLUG, PT 3/8, SCREW

1шт.

5

VV23876040000

PLUG

PLUG, PT 1/2

1шт.

6

VV12979501800

OIL SEAL

SEAL, OIL

1шт.

7

VV11980232100

COVER ASSY

COVER ASSY, PUMP

1шт.

8

VV11980232070

COVER

COVER, LUB. OIL PUMP

1шт.

9

VV12990032130

VALVE

VALVE, RELIEF

1шт.

10

VV12941832320

SPRING

SPRING

1шт.

11

VV12900132330

PLUG

PLUG

1шт.

12

VV11980201520

CASE

FRANGE, GEAR CASE

1шт.

13

VV11980201560

STUD

STUD, M8 X 25

3шт.

14

VV12416001751

CAP

COVER, FILLER

1шт.

15

VV12424001871

COVER

Hydraulic Oil Pump

1шт.

16

VV12979501950

PIPE

PIPE, KNOCK L=18

2шт.

17

VV11960932040

O-RING

O-RING, P16

4шт.

18

VV11980232111

ROTOR

ROTOR, INNER

1шт.

19

VV11980232120

ROTOR

ROTOR, OUTER

1шт.

20

VV11980232130

SCREW

SCREW, M6 X 16

7шт.

21

VV12185051960

O-RING

O-RING, F.I. PUMP

1шт.

22

VV12900191841

BOLT

BOLT, M8 X 85

3шт.

23

VV24311000320

O-RING

O-RING, 1A P-32.0

1шт.

24

VV26106080162

BOLT,M8 x 16mm

BOLT, M8 X 16 PLATED

4шт.

25

VV26106080162

BOLT,M8 x 16mm

BOLT, M8 X 16 PLATED

3шт.

26

VV26106080552

BOLT,M8 x 55mm

BOLT, M8 X 55 PLATED

12шт.

27

VV12102301550

COVER

COVER, BLIND, Serial Range: -2005.12

1шт.

VV12102301551

CAP

COVER, BLIND, Start Serial: 2006.01

1шт.

28

VV24341000240

O-RING

O-RING, 1A S-24.0

1шт.

29

VV26106060162

BOLT,M6 x 16mm

BOLT, M6 X 16 PLATED

2шт.

30

VV97777001212

GASKET

GASKET, LIQUID (1)

1шт.

31

VV26306080002

NUT,M8

NUT

3шт.

Выбрано товаров: 30