Запчасти Case CX50B (HC401) - SHAFT ASSEMBLY (35) - HYDRAULIC SYSTEMS

Схема запчастей Case CX50B - (HC401) - SHAFT ASSEMBLY (35) - HYDRAULIC SYSTEMS
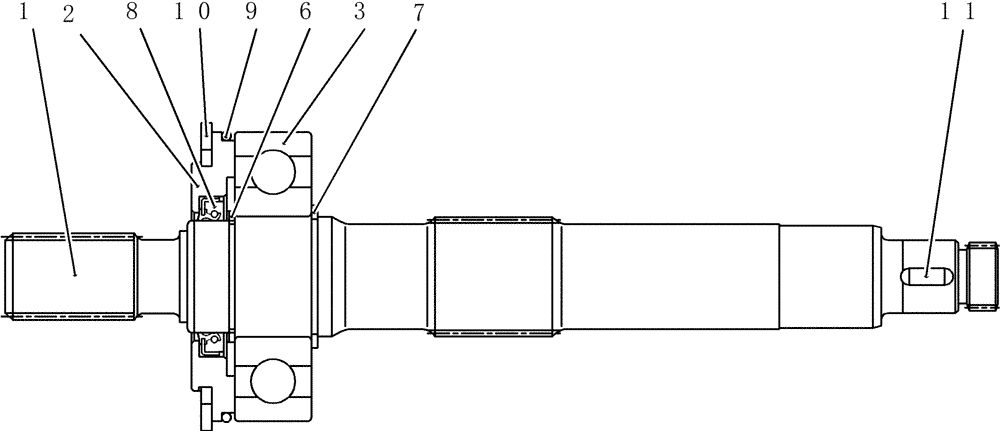
3
2
7
6
8
1
9
10
11
FIT
1:1
100%

Артикул

Название

Примечание

Количество

YJ10V01001F1

SHAFT ASSY.

1шт.

1

YJ10V01001S001

SHAFT

1шт.

2

NSS

NOT SOLD SEPARAT

Case, Seal

1шт.

3

PW10V00001S003

BEARING

1шт.

6

ZR16X02800

SNAP RING

Retaining

1шт.

7

ZR16X03000

SNAP RING

Retaining

1шт.

8

NSS

NOT SOLD SEPARAT

Oil Seal

1шт.

9

PW10V00001S009

O-RING

1шт.

10

ZR26X07200

SNAP RING

Retaining

1шт.

11

PM10V01001S006

KEY

1шт.

Выбрано товаров: 10