Качественные детали и логистика
Оригинальные и аналоговые запчасти с доставкой по России, Казахстану и Беларуси
©2022 PartSell ООО "Система" ИНН 2463123282 ОГРН 1212400004838
Центральный офис: г. Красноярск, Академика Киренского, д.87, пом.4
Телефон: 8 (800) 777-65-74 Email: zakaz@partsell.ru
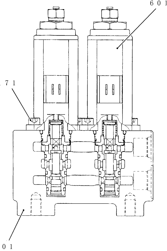
(HC850-17) - VALVE ASSEMBLY, SOLENOID
№
Артикул
Название
Примечание
Количество
PW35V00002F1
SOLENOID VALVE
Valve Assy
1шт.
101
PW35V00002S101
BODY
171
YN35V00047S171
SCREW,Hex Socket Head, M5 x 12mm
Cap
4шт.
601
PW35V00003F1
2шт.
Выбрано товаров: 0