Запчасти Case CX50B (HC855) - VALVE ASSEMBLY, SOLENOID (35) - HYDRAULIC SYSTEMS

Схема запчастей Case CX50B - (HC855) - VALVE ASSEMBLY, SOLENOID (35) - HYDRAULIC SYSTEMS
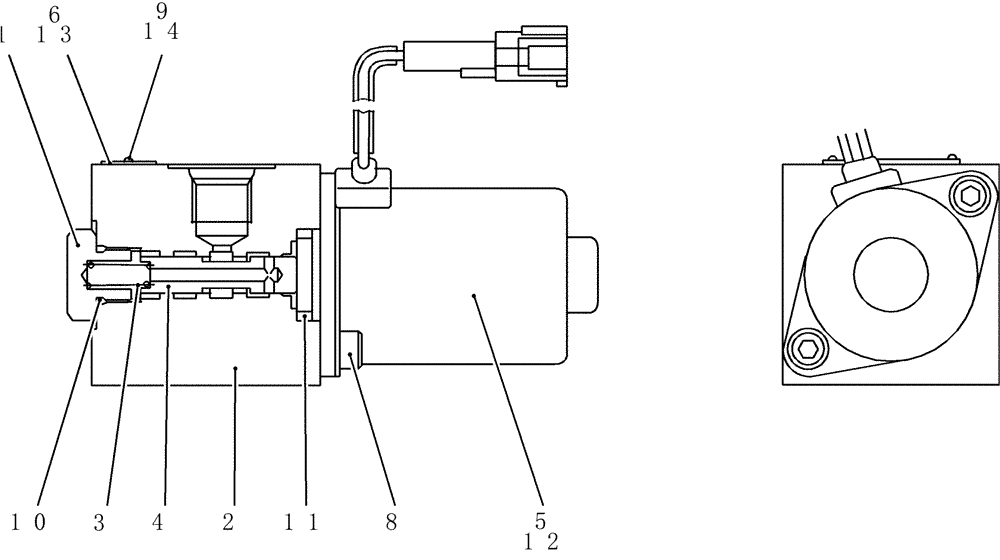
10
3
11
5
1
14
6
13
4
9
8
12
2
FIT
1:1
100%

Артикул

Название

Примечание

Количество

YJ35V00004F1

SOLENOID VALVE

1шт.

YJ35V00004F2

SOLENOID VALVE

1шт.

YJ35V00004F2

SOLENOID VALVE

1шт.

YJ35V00004F2

SOLENOID VALVE

1шт.

1

2436U2159S3

PLUG

1шт.

2

NSS

NOT SOLD SEPARAT

Body

1шт.

3

2436U2802S3

SPRING

1шт.

4

NSS

NOT SOLD SEPARAT

Spool

1шт.

5

YJ35V00004S005

SOLENOID

Valve, Solenoid (F1 ONLY)

1шт.

6

NSS

NOT SOLD SEPARAT

Name Plate (F1 ONLY)

1шт.

8

EN35V00004S010

BOLT

Cap

2шт.

9

2436U1487S35

RIVET

Screw (F1 ONLY)

2шт.

10

ZD11P01000

O-RING

1шт.

11

ZD11P01600

O-RING

1шт.

12

PY35V00005S005

SOLENOID

Valve, Solenoid (F2 ONLY)

1шт.

13

NSS

NOT SOLD SEPARAT

Name Plate (F2 ONLY)

1шт.

14

NSS

NOT SOLD SEPARAT

Screw (F2 ONLY)

2шт.

Выбрано товаров: 17