Запчасти Case CX50B (HC862) - VALVE ASSEMBLY, SOLENOID (35) - HYDRAULIC SYSTEMS

Схема запчастей Case CX50B - (HC862) - VALVE ASSEMBLY, SOLENOID (35) - HYDRAULIC SYSTEMS
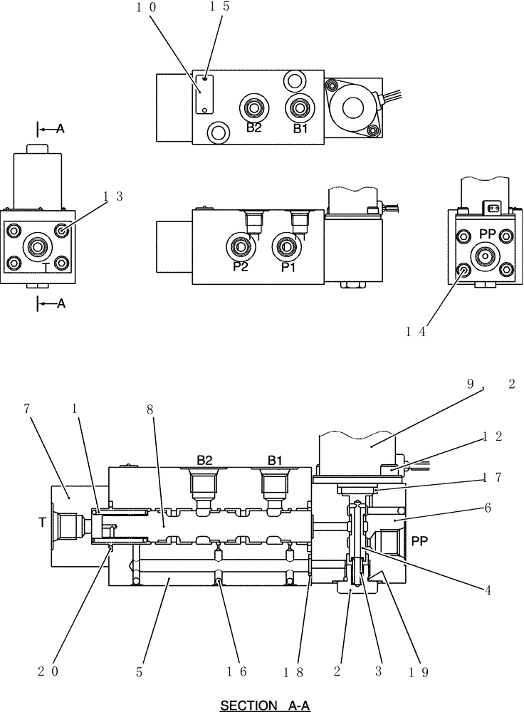
3
12
7
4
15
1
10
17
18
14
13
6
2
5
20
8
16
19
FIT
1:1
100%

Артикул

Название

Примечание

Количество

PE35V00001F1

SOLENOID VALVE

ASSY (Used for Slew/Swing Select)

1шт.

PE35V00001F2

SOLENOID VALVE

ASSY (Used for Slew/Swing Select)

1шт.

PE35V00001F2

SOLENOID VALVE

1шт.

1

PE35V00001S001

SPRING

1шт.

2

2436U2159S3

PLUG

1шт.

3

2436U2802S3

SPRING

1шт.

4

YN35V00010S004

SPOOL

1шт.

5

NSS

NOT SOLD SEPARAT

Body

1шт.

6

NSS

NOT SOLD SEPARAT

Body

1шт.

7

YR35V00009S008

COVER

1шт.

8

NSS

NOT SOLD SEPARAT

Spool

1шт.

9

PE35V00001S002

SOLENOID

Valve, Solenoid (F1 ONLY)

1шт.

10

NSS

NOT SOLD SEPARAT

Name Plate

1шт.

12

EN35V00004S010

BOLT

Cap

2шт.

13

ZS23C06030

SCREW,Hex Socket Head, M6 x 30mm

Cap

4шт.

14

ZS23C06050

CAPSCREW,Hex Socket Head, M6 x 50mm

Cap

4шт.

15

YN30V00080S023

SCREW

Rivet

2шт.

16

NSS

NOT SOLD SEPARAT

Ball

4шт.

17

ZD11P01600

O-RING

1шт.

18

ZD12P00800

O-RING,1.9mm Thk x 7.8mm ID, 90 Duro

1шт.

19

ZD12P01000

O-RING

1шт.

20

ZD12P02100

O-RING,2.4mm Thk x 20.8mm ID, 90 Duro

2шт.

21

PY35V00005S005

SOLENOID

Valve, (F2 ONLY)

1шт.

Выбрано товаров: 23