Запчасти Case CX50B (HC930) - JOINT ASSEMBLY, SWIVEL (35) - HYDRAULIC SYSTEMS

Схема запчастей Case CX50B - (HC930) - JOINT ASSEMBLY, SWIVEL (35) - HYDRAULIC SYSTEMS
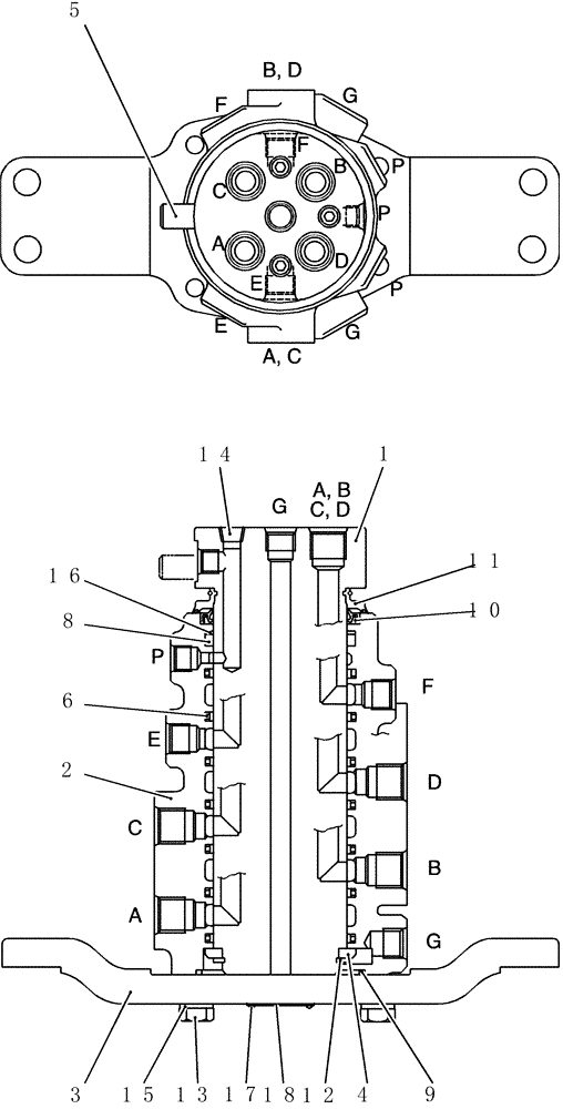
5
4
14
6
11
2
13
15
8
3
10
16
1
18
12
9
17
FIT
1:1
100%

Артикул

Название

Примечание

Количество

24100J12703F1

HYDRAULIC SWIVEL

Joint Assy

1шт.

1

2436J206

BODY

Stem

1шт.

2

2422J3332

BODY

1шт.

3

2418P23755

FLANGE

1шт.

4

2418T21983

SPACER

1шт.

5

2419T6551

PIN

1шт.

6

2445Z736

GASKET

Seal, Slipper

7шт.

8

ZD11P08000

O-RING

1шт.

9

ZD11G09500

O-RING,94.40mm ID x 100.60mm OD x 3.10mm

1шт.

10

2445R62

SEAL

Seal, Dust

1шт.

11

2445R63

SEAL

Dust

1шт.

12

ZR16X07000

RING

Retaining

1шт.

13

ZS13C10030

SCREW

Cap

4шт.

14

ZE82T04000

PLUG

3шт.

15

ZW26X10000

LOCK WASHER

4шт.

16

ZD75P08000

BACK-UP RING

1шт.

17

2420Z1036D3

CLEVIS

2шт.

18

YN22T00194P1

TYPE PLATE

Name Plate

1шт.

Выбрано товаров: 18