Запчасти Case CX50B (550-01[1]) - CYLINDER INSTAL (84) - BOOMS, DIPPERS & BUCKETS

Схема запчастей Case CX50B - (550-01[1]) - CYLINDER INSTAL (84) - BOOMS, DIPPERS & BUCKETS
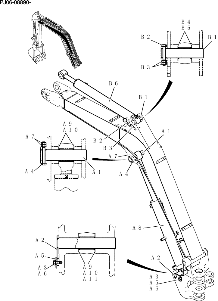
b1
b2
b1
a7
a10
a6
b4
a10
a5
a1
b3
a11
a3
a2
a8
a7
a9
a5
a1
a4
b3
a6
b5
a9
a3
a2
b2
b6
a4
FIT
1:1
100%

Артикул

Название

Примечание

Количество

PY02B00110F1

Instal (canopy)

1шт.

PY02B00117F1

Instal (cab)

1шт.

a1

PH02B01054P1

PIN,50mm OD x 213mm L

1шт.

a2

PY02B01267P1

PIN,50mm OD x 263mm L

1шт.

a3

ZS18C12020

SCREW,Hex, M12 x 20mm

1шт.

a4

HS18C12100G2

SCREW

Cap

1шт.

a5

2418T17895

WASHER

1шт.

a6

ZW26X12000

LOCK WASHER

1шт.

a7

ZN18C12010

NUT

2шт.

a8

PY01V00043F1

CYLINDER

Assy, Boom (canopy)

1шт.

See (C.P.M)

1шт.

PY01V00045F1

CYLINDER

Assy, Boom (cab)

1шт.

See (C.P.M)

1шт.

a9

B16T0442D54

SHIM,52mm ID x 80mm OD x 0.5mm Thk

4шт.

a10

B16T0442D41

SHIM,80mm OD x 52mm ID x 0.9mm Thk

3шт.

a11

B16T0442D24

SHIM,80mm OD x 52mm ID x 2.3mm Thk

3шт.

PY02B00120F1

Instal

1шт.

b1

PH02B01060P1

PIN

1шт.

b2

HS18C12090G1

SCREW

Cap

1шт.

b3

ZN18C12010

NUT

2шт.

b4

YJ12B01043P1

SHIM,0.5mm Thk

2шт.

b5

B16T0442D61

SHIM,47mm ID x 70mm OD x 0.9mm Thk

2шт.

b6

PY01V00042F2

CYLINDER

Assy, Arm

1шт.

See (C.P.M)

1шт.

Выбрано товаров: 0