Запчасти Case CX50B (180-17[5]) - CAB ASSY (90) - PLATFORM, CAB, BODYWORK AND DECALS

Схема запчастей Case CX50B - (180-17[5]) - CAB ASSY (90) - PLATFORM, CAB, BODYWORK AND DECALS
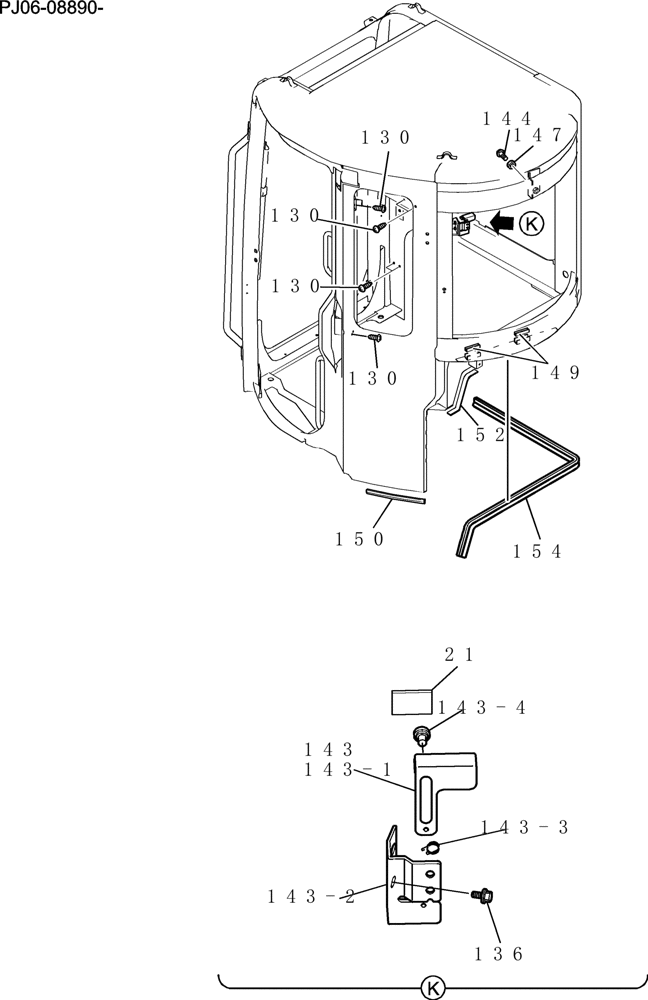
150
130
130
152
144
136
143-3
143-1
130
143-4
21
143
149
130
154
147
143-2
FIT
1:1
100%

Артикул

Название

Примечание

Количество

21

PA33H01057P1

RUBBER

1шт.

130

2420Z1227D2

SCREW

Machine

8шт.

136

ZM46C06016

SCREW

Sems-bolt

2шт.

143

PW02C01265F1

BRACKET

Assy

1шт.

143-1

PW02C01260P1

PLATE

1шт.

143-2

PW02C01261P1

PLATE

1шт.

143-3

PW02C01262P1

SPRING

1шт.

143-4

PM02C01346P1

PIN

2шт.

144

YR02C01503P1

STOP

1шт.

147

ZN17C10006

NUT

1шт.

149

PY02C01087P1

STOP

2шт.

150

PW02C01342D1

WEATHERSTRIP

1шт.

152

PF21C01175D2

RUBBER

1шт.

154

PW02C01353P1

WEATHERSTRIP

Weather

1шт.

Выбрано товаров: 14