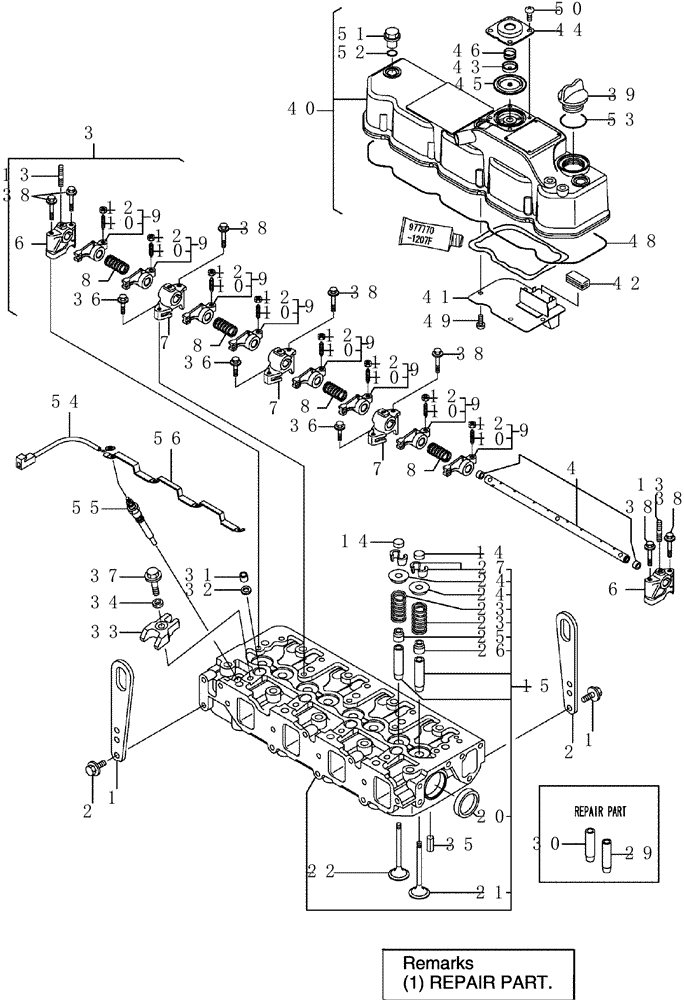
Запчасти Case CX50B (4TNV88-BXYB-8[1]) - CYLINDER HEAD & BONNET (10) - ENGINE

Схема запчастей Case CX50B - (4TNV88-BXYB-8[1]) - CYLINDER HEAD & BONNET (10) - ENGINE
33
10
10
10
36
49
34
13
9
10
38
38
36
10
55
9
50
35
8
56
6
38
3
7
9
24
8
9
13
23
8
54
44
14
12
12
9
21
1
52
30
6
10
12
12
37
15
14
4
29
32
22
39
53
23
9
7
27
20
40
38
31
12
7
2
9
38
41
10
36
1
45
10
48
12
43
24
51
26
25
38
12
12
8
46
9
2
42
FIT
1:1
100%

Артикул

Название

Примечание

Количество

1

VV12990007900

GRAIN LIFTER

Engine

2шт.

2

VV26106080162

BOLT,M8 x 16mm

M 8 x 16 Plated

4шт.

3

VV12960111241

SHAFT ASSY.

Rocker

1шт.

4

VV12960111251

SHAFT

1шт.

6

VV11980211260

SUPPORT

Rocker Arm

2шт.

7

VV11980211270

SUPPORT

Rocker Arm

3шт.

8

VV12915011280

SPRING

4шт.

9

VV12900411650

ARM ASSY.

Rocker

8шт.

10

VV12915011230

SCREW

Valve

8шт.

12

VV12915011750

NUT

M 8 x p1. 0

8шт.

13

VV26226080182

STUD,M8 x 18mm

M 8 x 18 Plated

3шт.

14

VV12915011370

CAP

Valve

8шт.

15

VV12960411700

CYLINDER HEAD

Clinder

1шт.

20

VV27241400000

PLUG

40

2шт.

21

VV12900511100

VALVE

Intake

4шт.

22

VV12910011112

STD EXHAUST VALVE

STD ENGINE EXHAUST VALVE

4шт.

23

VV12979511120

VALVE SPRING

8шт.

24

VV12979511180

SPRING

Retainer

8шт.

25

VV12140011340

SEAL

Valve Stem

4шт.

26

VV12446011340

SEAL

Valve Stem

4шт.

27

VV27310080001

COTTER PIN

Cotter

8шт.

29

VV12013011860

VALVE GUIDE

4шт.

30

VV12915011810

VALVE GUIDE

4шт.

31

VV11980211870

PROTECTOR

Nozzle

4шт.

32

VV11962511880

SEAL

Nozzle

4шт.

33

VV12900411900

RETAINER

Nozzle

4шт.

34

VV12027054410

WASHER

4шт.

35

VV22351060012

SPRING,6 x 12mm

Pin 6 x12

2шт.

36

VV26106080252

BOLT,M8 x 25mm

M 8 x 25 Plated

3шт.

37

VV26106080352

BOLT,M8 x 35mm

M 8 x 35 Plated

4шт.

38

VV26106080502

BOLT,M8 x 50mm

M 8 x 50 Plated

7шт.

39

VV12416001751

CAP

Cover, Filler

1шт.

40

VV12960111350

COVER

Bonnet Assy

1шт.

41

VV12900403010

PLATE ASSY.

Baffle

1шт.

42

VV12915003070

BAFFLE

Breather

1шт.

43

VV11980203110

PLATE

Diaphragm

1шт.

44

VV11980203121

COVER

Diaphragm

1шт.

45

VV11980203130

DIAPHRAGM

1шт.

46

VV11980203141

SPRING

Diaphragm

1шт.

48

VV12960111310

GASKET

Cover

1шт.

49

VV22857500100

SCREW,M5 x 10mm

5 x 10, Tapping

4шт.

50

VV22857500100

SCREW,M5 x 10mm

5 x 10, Tapping

4шт.

51

VV12416011360

KNOB

3шт.

52

VV24311000120

O-RING

1a P 12. 0

3шт.

53

VV24311000320

O-RING

1a P-32. 0

1шт.

54

VV11980377830

WIRE HARNESS

Glow Plug

1шт.

55

VV12900877800

PLUG

low

4шт.

56

VV12960477821

HYD CONNECTOR

Glow Plug

1шт.

Выбрано товаров: 48