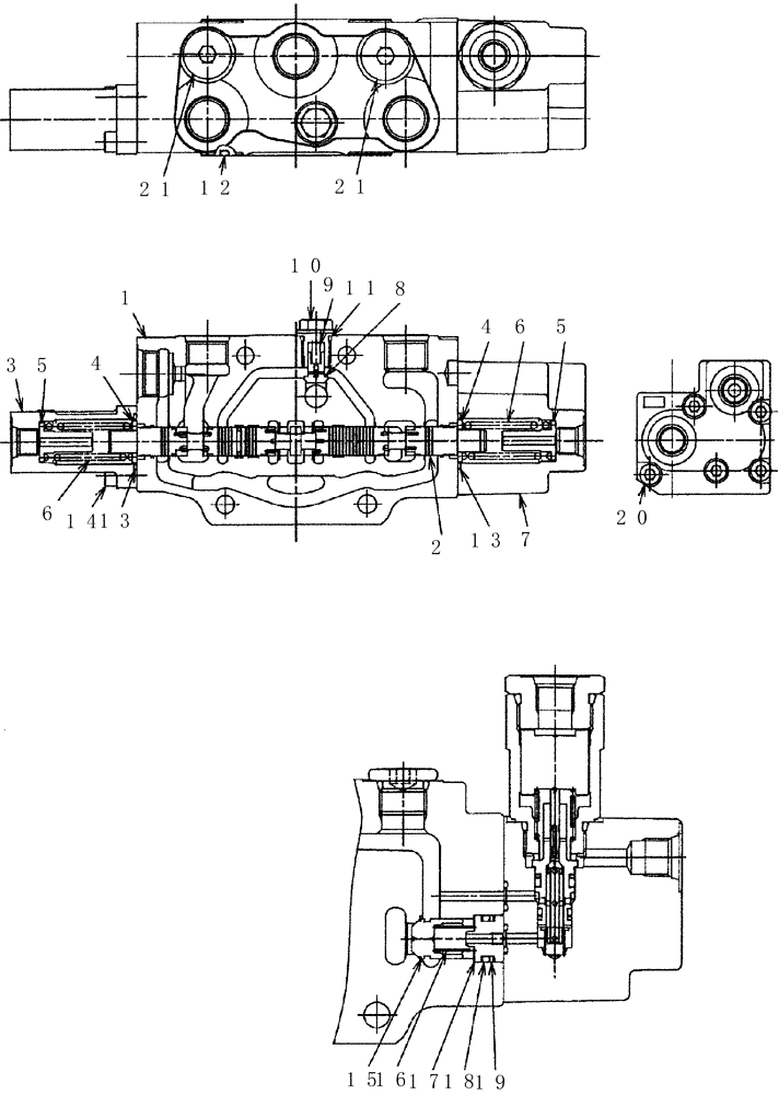
Запчасти Case CX50B (HC011) - VALVE ASSEMBLY, CONTROL (BOOM) (35) - HYDRAULIC SYSTEMS

Схема запчастей Case CX50B - (HC011) - VALVE ASSEMBLY, CONTROL (BOOM) (35) - HYDRAULIC SYSTEMS
5
4
11
1
15
13
2
10
21
16
3
18
14
6
21
7
20
6
4
9
8
17
12
19
5
13
FIT
1:1
100%

Артикул

Название

Примечание

Количество

PH30V00054F1

VALVE

Assy, Control (boom)

1шт.

1

NSS

NOT SOLD SEPARAT

Housing

1шт.

2

NSS

NOT SOLD SEPARAT

Spool

1шт.

3

PH30V00053S003

CAP

1шт.

4

2436R919S10

SEAT

Spring

2шт.

5

PH30V00053S005

VALVE SEAT

Seat

2шт.

6

PH30V00053S006

SPRING

2шт.

7

NSS

NOT SOLD SEPARAT

Valve Assy, Anti Drift

1шт.

8

PH30V00053S007

POPPET

1шт.

9

PH30V00053S009

SPRING

1шт.

10

PH30V00053S010

PLUG

1шт.

11

2436U1192S19

O-RING

1шт.

12

ZD11G07000

O-RING,69.40mm ID x 75.60mm OD x 3.10mm

1шт.

13

2436R668S3

O-RING

2шт.

14

ZS23C06018

SCREW,Hex Socket Head, M6 x 18mm

Cap

2шт.

15

PH30V00054S015

POPPET

1шт.

16

PH30V00054S016

SPRING

1шт.

17

PH30V00054S017

SPACER

1шт.

18

ZD11P01250

O-RING

1шт.

19

ZD85P01250

BACK-UP RING

1шт.

20

ZS23C06050

CAPSCREW,Hex Socket Head, M6 x 50mm

Cap

5шт.

21

PA30V00001S018

PLUG

Assy

2шт.

Выбрано товаров: 22