Запчасти Case CX50B (HC023) - VALVE ASSEMBLY, ANTIVOID (35) - HYDRAULIC SYSTEMS

Схема запчастей Case CX50B - (HC023) - VALVE ASSEMBLY, ANTIVOID (35) - HYDRAULIC SYSTEMS
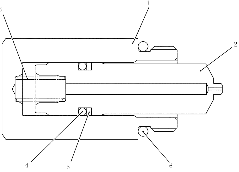
1
5
4
3
2
6
FIT
1:1
100%

Артикул

Название

Примечание

Количество

PH22V00013F1

VALVE

Assy, Antivoid

1шт.

1

PH22V00013S001

PLUG

1шт.

2

PH22V00013S002

POPPET

1шт.

3

PH22V00013S003

SPRING

1шт.

4

2436R1119S10

O-RING

1шт.

5

PH22V00013S005

RING

Back Up

1шт.

6

2436U388S25

O-RING

1шт.

Выбрано товаров: 7