Запчасти Case CX50B (04-011) - BUCKET ASSEMBLY, 650W Attachments

Схема запчастей Case CX50B - (04-011) - BUCKET ASSEMBLY, 650W Attachments
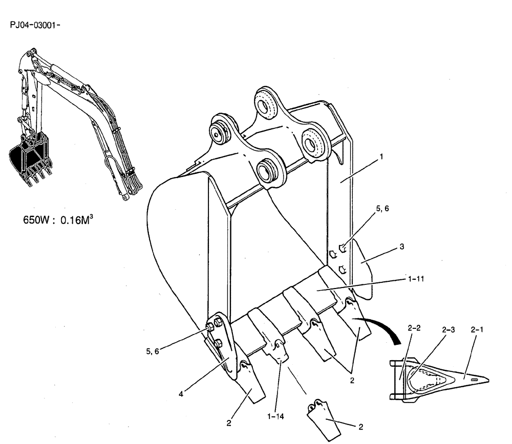
1-14
5
4
2-1
6
2
1
2-2
2
6
5
1-11
2-3
3
2
FIT
1:1
100%

Артикул

Название

Примечание

Количество

PY61B00073F1

BUCKET

ASSY, 650W

1шт.

1

PY61B00074P1

BUCKET

1шт.

1-11

PY61B01019P1

PLATE

EDGE, CUTTING

1шт.

1-14

2412U103

ADAPTER

4шт.

2

2412P641F1

BUCKET TOOTH

ASSY

4шт.

2-1

2412P641E1

BUCKET TOOTH

1шт.

2-2

2412P641E2

LOCK PIN

1шт.

2-3

2412P641E3

LOCK

RUBBER

1шт.

3

PH69B00003P1

CUTTING EDGE

SIDE

1шт.

4

PH69B00004P1

CUTTING EDGE

SIDE

1шт.

5

ZS13C16040

SCREW

CAP

6шт.

6

ZN13C16013

NUT

6шт.

Выбрано товаров: 12