Запчасти Case CX50B (08-001) - VALVE ASSEMBLY, CONTROL P/N PY30V00035F1 ELECTRICAL AND HYDRAULIC COMPONENTS

Схема запчастей Case CX50B - (08-001) - VALVE ASSEMBLY, CONTROL P/N PY30V00035F1 ELECTRICAL AND HYDRAULIC COMPONENTS
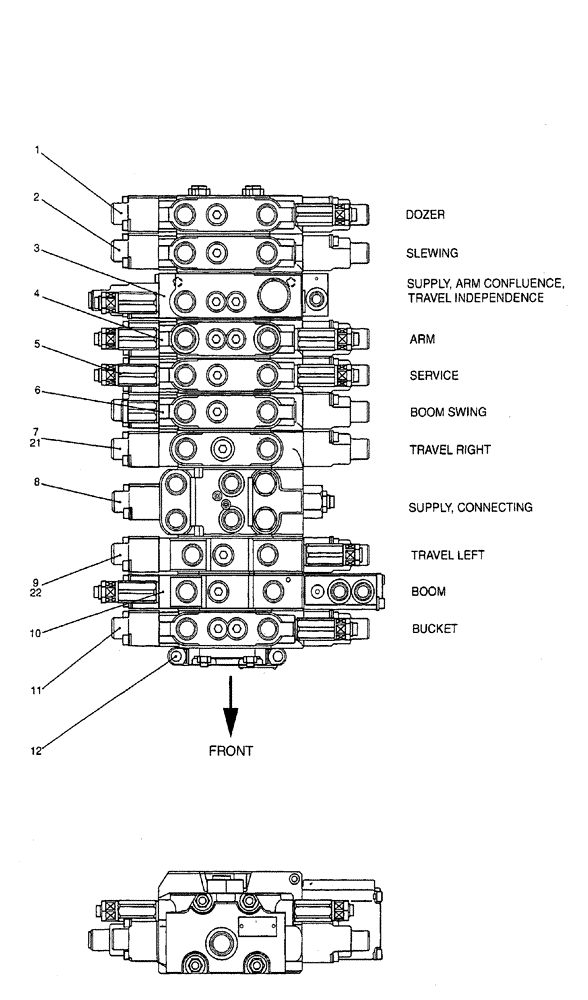
9
8
21
10
6
1
11
2
5
22
4
7
12
3
FIT
1:1
100%

Артикул

Название

Примечание

Количество

PY30V00035F1

CONTROL VALVE

ASSY

1шт.

PY30V00035F2

CONTROL VALVE

VALVE ASSY, CONTROL

1шт.

1

PY30V00036F1

VALVE SECTION

ASSY, CONTROL (DOZER), SEE FIG. 08-033

1шт.

2

PY30V00037F2

VALVE SECTION

ASSY, CONTROL (SLEWING), SEE FIG. 08-004

1шт.

3

PY30V00038F2

VALVE SECTION

ASSY, CONTROL (SUPPLY, ARM CONFLUENCE, TRAVEL INDEPENDENCE), SEE FIG. 08-005

1шт.

4

PY30V00039F1

VALVE SECTION

ASSY, CONTROL (ARM), SEE FIG. 08-006

1шт.

5

PY30V00047F1

VALVE SECTION

ASSY, (SERVICE), SEE FIG. 08-007

1шт.

6

PY30V00048F1

VALVE SECTION

ASSY, (BOOM SWING), SEE FIG. 08-008

1шт.

7

PY30V00042F3

VALVE SECTION

VALVE ASSY, CONTROL (TRAVEL RIGHT), SEE FIG. 08-009

1шт.

8

PY30V00043F1

VALVE SECTION

ASSY, CONTROL (SUPPLY, CONNECTING), SEE FIG. 08-016

1шт.

9

PY30V00044F3

VALVE SECTION

VALVE ASSY, CONTROL (TRAVEL LEFT), SEE FIG. 08-011

1шт.

10

PY30V00045F2

VALVE SECTION

ASSY, CONTROL (BOOM), SEE FIG. 08-012

1шт.

11

PY30V00046F1

VALVE SECTION

ASSY, CONTROL (BUCKET), SEE FIG. 08-013

1шт.

12

PY30V00032S026

COVER

1шт.

21

PY30V00042F4

VALVE SECTION

ASSY, (TRAVEL RIGHT), SEE FIG. 08-009

1шт.

22

PY30V00044F4

VALVE SECTION

ASSY, (TRAVEL LEFT), SEE FIG. 08-011

1шт.

Выбрано товаров: 16