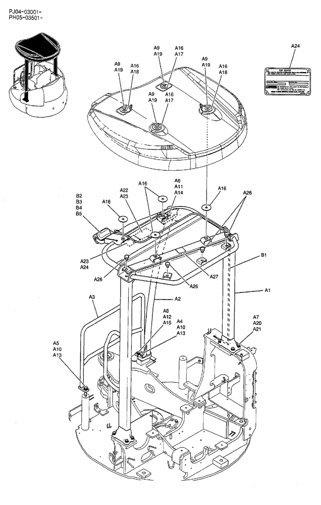
Запчасти Case CX50B (02-073) - CANOPY ASSEMBLY (05) - SUPERSTRUCTURE

Схема запчастей Case CX50B - (02-073) - CANOPY ASSEMBLY (05) - SUPERSTRUCTURE
a26
a13
a16
a24
a10
a26
a2
a9
a19
a17
a16
a15
a6
a11
a18
a16
a16
a17
b2
b3
a5
a9
a16
a13
b4
b5
a18
b1
a8
a16
a26
a14
a7
a4
a23
a10
a21
a19
a9
a27
a3
a1
a12
a24
a16
a9
a19
a19
a22
a20
a23
FIT
1:1
100%

Артикул

Название

Примечание

Количество

NSS

NOT SOLD SEPARAT

CANOPY ASSY

1шт.

PH06C00014F1

CANOPY

ASSY

1шт.

a1

PH06C01153P1

SUPPORT

1шт.

a2

PW06C01126P1

SUPPORT

SUPPORT

1шт.

a3

PW41C00013P1

HANDRAIL

HANDRAIL, Serial Range: PJ04-03001-PJ04-03224

1шт.

a3

PW41C00013P1

HANDRAIL

HANDRAIL, Serial Range: PH05-03501-PH05-03824

1шт.

PW41C00013P2

HANDRAIL

HANDRAIL, Start Serial: PJ04-03225

1шт.

PW41C00013P2

HANDRAIL

HANDRAIL, Start Serial: PH05-03825

1шт.

a4

ZS18C16065

SCREW,Hex, M16 x 65mm

CAP

1шт.

a5

ZS18C16100

SCREW,Hex, M16 x 100mm

CAP

1шт.

a6

ZS18C12035

SCREW,Hex, M12 x 35mm

CAP

2шт.

a7

PH06C01148P1

BOLT

CAP, Serial Range: PJ04-03001-PJ04-03516

8шт.

a7

PH06C01148P1

BOLT

CAP, Serial Range: PH05-03501-PH05-03894

8шт.

ZS18C14055

BOLT,Hex, M14 x 55mm

CAP

8шт.

a8

ZS18C10040

SCREW,Hex, M10 x 40mm

CAP

1шт.

a9

ZS18C12030

SCREW,Hex, M12 x 30mm

CAP

4шт.

a10

ZW26X16000

LOCK WASHER

2шт.

all

ZW26X12000

LOCK WASHER

2шт.

a12

ZW26X10000

LOCK WASHER

1шт.

a13

ZW16H16000

WASHER

2шт.

a14

ZW16H12000

WASHER

2шт.

a15

ZW16H10000

WASHER

1шт.

a16

PM06C01096P1

RUBBER

8шт.

a17

PM06C01042P1

WASHER

2шт.

a18

PW06C01088P1

PLATE

2шт.

a19

2418T22593

WASHER

4шт.

a20

ZW26X14000

WASHER

8шт.

a21

2418T20864

WASHER

8шт.

a22

PW20T01079P1

PLATE

NUMBER

1шт.

a23

PB06C01093D1

RIVET

8шт.

a24

PV20T01018P1

IDENTITY PLATE

PLATE, NUMBER

1шт.

a26

2420Z1340D1

PLUG

4шт.

a27

PM03M01339P1

RUBBER

1шт.

PW80E00006F1

LIGHT

INSTAL

1шт.

b1

PW11E01026D4

HARNESS

1шт.

b2

PW80S00003F1

LIGHT ASSY.

SEE FIG. 02-077

1шт.

b3

ZN17F12007

NUT

1шт.

b4

ZW26X12000

LOCK WASHER

1шт.

b5

ZW16X12000

WASHER

1шт.

Выбрано товаров: 39