Запчасти Case CX50B (08-005) - VALVE ASSEMBLY, CONTROL (SUPPLY, ARM CONFLUENCE, TRAVEL INDEPENDENCE) ELECTRICAL AND HYDRAULIC COMPONENTS

Схема запчастей Case CX50B - (08-005) - VALVE ASSEMBLY, CONTROL (SUPPLY, ARM CONFLUENCE, TRAVEL INDEPENDENCE) ELECTRICAL AND HYDRAULIC COMPONENTS
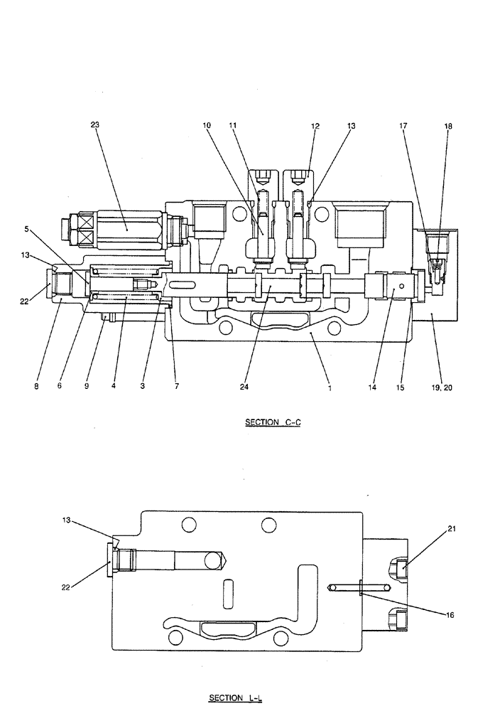
13
6
20
24
16
10
17
11
3
5
8
13
19
1
21
22
22
13
9
12
15
14
18
7
23
4
FIT
1:1
100%

Артикул

Название

Примечание

Количество

PY30V00038F2

VALVE SECTION

VALVE ASSY, CONTROL

1шт.

1

NSS

NOT SOLD SEPARAT

BODY

1шт.

3

NSS

NOT SOLD SEPARAT

SEAT, SPRING

1шт.

4

NSS

NOT SOLD SEPARAT

SPRING

1шт.

5

NSS

NOT SOLD SEPARAT

BOLT, SPACER

1шт.

6

NSS

NOT SOLD SEPARAT

SEAT, SPRING

1шт.

7

PH30V00009S007

O-RING

1шт.

8

PH30V00009S008

COVER

CAP

1шт.

9

PH30V00009S019

CAPSCREW

CAP

2шт.

10

PH30V00014S012

POPPET

2шт.

11

PH30V00014S013

SPRING

2шт.

12

PH30V00014S015

PLUG

2шт.

13

ZD12P01100

O-RING

4шт.

14

PY30V06038S014

PISTON

1шт.

15

PW30V01008S011

O-RING

1шт.

16

ZD12P00600

O-RING

1шт.

17

PX30V00050S018

ORIFICE

1шт.

18

PX30V00050S019

FILTER

FILTER

1шт.

19

PY30V00038S019

BODY

1шт.

20

2436U1317S22

PLUG

1шт.

21

ZS23C06030

SCREW,Hex Socket Head, M6 x 30mm

CAP

3шт.

22

2436U1317S13

PLUG

2шт.

23

PH22V00003F5

VALVE

ASSY, RELIEF, SEE FIG. 08-014

1шт.

24

NSS

NOT SOLD SEPARAT

SPOOL

1шт.

PY30V00038R200

SPOOL

REPAIR KIT CONSISTS OF REF. 3 (1), 4 (1), 5 (1), 6 (1), 24 (1)

1шт.

Выбрано товаров: 25