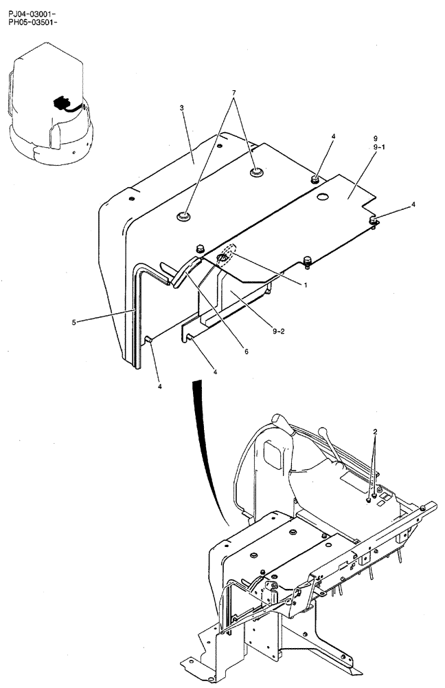
Запчасти Case CX50B (02-093) - HEATER ASSEMBLY (WITHOUT HEATER) (05) - SUPERSTRUCTURE

Схема запчастей Case CX50B - (02-093) - HEATER ASSEMBLY (WITHOUT HEATER) (05) - SUPERSTRUCTURE
3
1
9
6
2
9-1
5
9-2
4
4
4
4
7
FIT
1:1
100%

Артикул

Название

Примечание

Количество

PH21M00006F1

HOSE

HEATER ASSY

1шт.

1

2420Z1042

GROMMET

1шт.

2

PW17M01021P1

CAP

2шт.

3

PW10M01182P2

COVER

COVER

1шт.

4

PA03M01093D2

BOLT

SEMS

10шт.

5

YN21C01712D5

WEATHERSTRIP

1шт.

6

PM22C01013DE

WEATHERSEAL STRIP

1шт.

7

2420R429D4

GROMMET

2шт.

9

PH21M01015F1

COVER ASSY

1шт.

9-1

PH21M01016P2

COVER

1шт.

9-2

PH21M01017P1

FOAM INSULATION

1шт.

Выбрано товаров: 11