Качественные детали и логистика
Оригинальные и аналоговые запчасти с доставкой по России, Казахстану и Беларуси
©2022 PartSell ООО "Система" ИНН 2463123282 ОГРН 1212400004838
Центральный офис: г. Красноярск, Академика Киренского, д.87, пом.4
Телефон: 8 (800) 777-65-74 Email: zakaz@partsell.ru
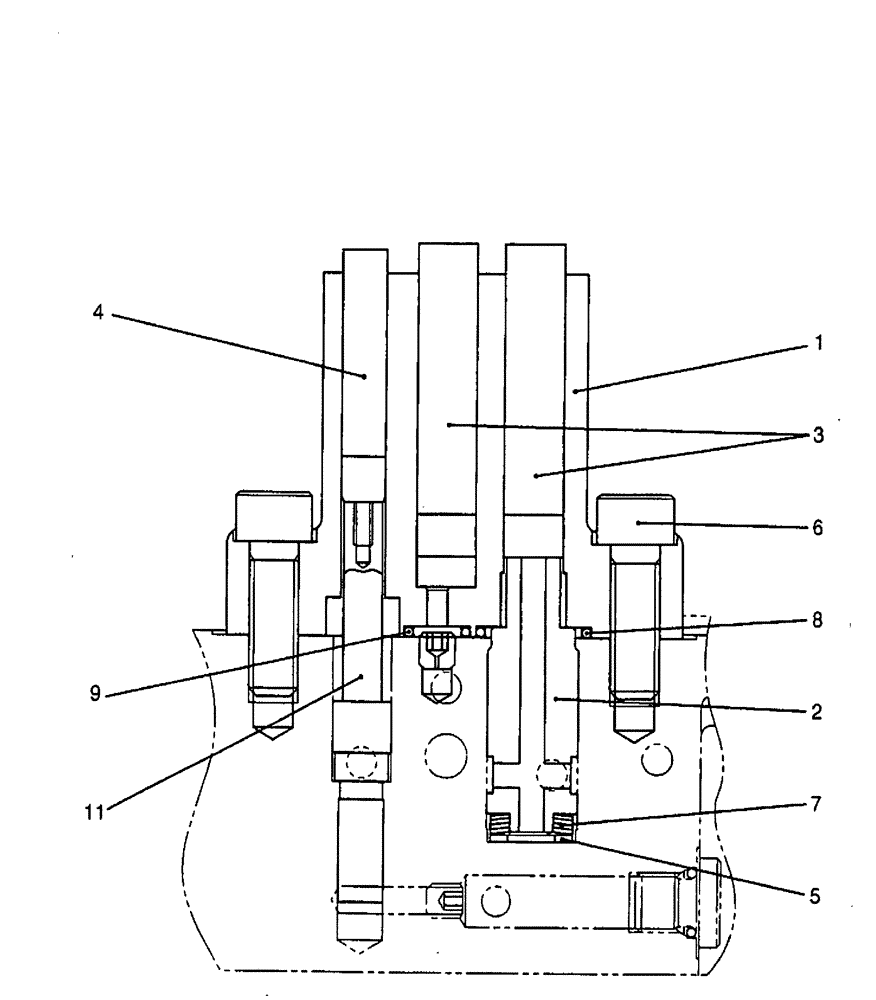
(08-034) - PISTON ASSEMBLY
№
Артикул
Название
Примечание
Количество
PY10V01008F1
PISTON ASSY
1шт.
1
PH10V01004S001
CYLINDER
2
PY10V01008S002
PISTON
3
PY10V01006S003
PIN
2шт.
4
PH10V01004S004
5
PY10V01006S005
SPRING SEAT
6
ZS23C08025
SCREW,Hex Socket Head, M8 x 25mm
CAP
7
PW10V00001S056
VALVE SPRING
CONED DISK
3шт.
8
2436U1852S105
O-RING
9
PH10V01004S009
11
NSS
NOT SOLD SEPARAT
Выбрано товаров: 0