Запчасти Case CX50B (08-041) - VALVE ASSEMBLY, PILOT ELECTRICAL AND HYDRAULIC COMPONENTS

Схема запчастей Case CX50B - (08-041) - VALVE ASSEMBLY, PILOT ELECTRICAL AND HYDRAULIC COMPONENTS
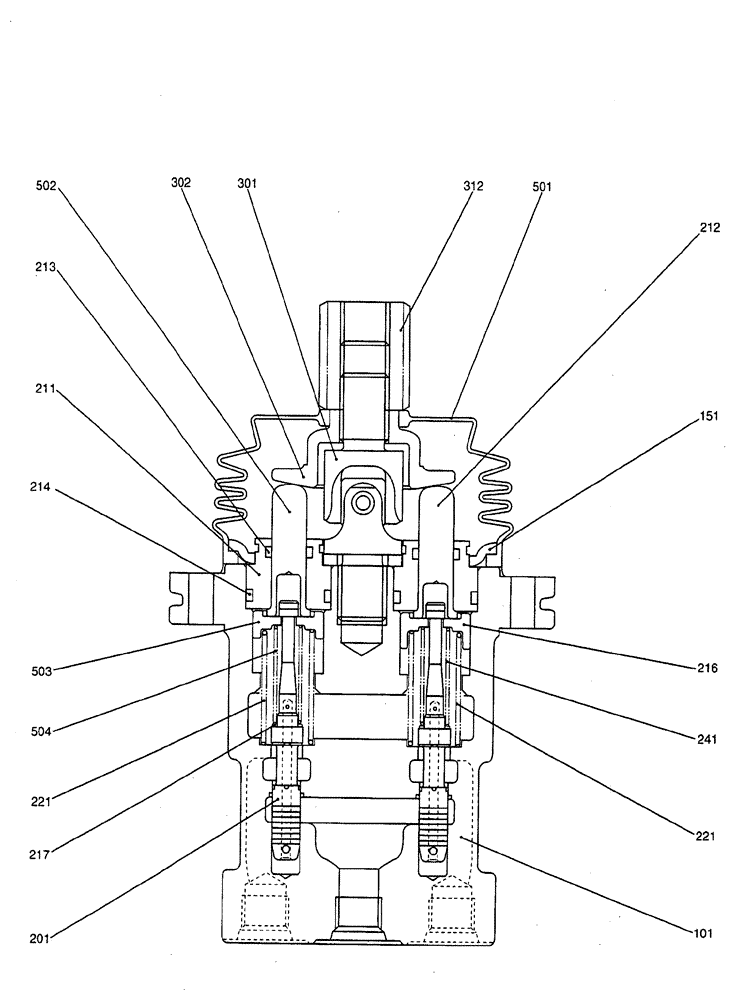
214
301
312
213
501
221
503
221
216
502
212
504
211
241
302
101
201
217
151
FIT
1:1
100%

Артикул

Название

Примечание

Количество

PX30V00043F1

VALVE

ASSY, PILOT

1шт.

PX30V00043F2

HYDRAULIC VALVE

1шт.

PX30V00043F3

VALVE

1шт.

101

NSS

NOT SOLD SEPARAT

BODY

1шт.

151

YT30V00008S151

PLATE

1шт.

201

NSS

NOT SOLD SEPARAT

SPOOL

4шт.

211

2436U1277S211

PLUG

4шт.

212

2436U2155S212

ROD

PUSH

2шт.

2436U2155S212

ROD

PUSH

4шт.

213

2436U1277S213

SEAL

SEAL

4шт.

214

ZD12P02000

O-RING,2.4mm Thk x 19.8mm ID, 90 Duro

4шт.

216

PX30V00043S216

SEAT

SPRING

2шт.

PX30V00043S216

SEAT

SPRING

4шт.

217

2436U1277S217

WASHER

4шт.

221

PX30V00043S221

SPRING

4шт.

241

PX30V00043S241

SPRING

2шт.

PX30V00043S241

SPRING

4шт.

301

2436U2581S301

FLEXIBLE JOINT

1шт.

302

YT30V00008S302

PLATE

1шт.

312

2436U1242S312

NUT

1шт.

501

YT30V00008S501

BOOT

1шт.

502

PU30V00002S2122

ROD

PUSH

2шт.

503

PX30V00043S503

SEAT

SPRING

2шт.

504

PX30V00043S501

SPRING

2шт.

Выбрано товаров: 24