Запчасти Case CX50B (08-042) - VALVE ASSEMBLY, PILOT (PROPELLING) ELECTRICAL AND HYDRAULIC COMPONENTS

Схема запчастей Case CX50B - (08-042) - VALVE ASSEMBLY, PILOT (PROPELLING) ELECTRICAL AND HYDRAULIC COMPONENTS
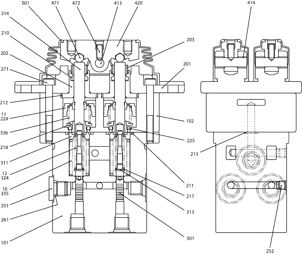
12
218
251
11
211
261
420
472
203
101
414
214
336
224
210
311
202
413
212
324
471
10
501
102
217
201
335
271
213
313
301
252
225
FIT
1:1
100%

Артикул

Название

Примечание

Количество

PM30V00019F1

PILOT VALVE

ASSY, (PROPELLING)

1шт.

PM30V00019F2

ASSY, (PROPELLING)

1шт.

PM30V00019F3

PILOT VALVE

ASSY, (PROPELLING)

1шт.

PM30V00019F4

PILOT VALVE

ASSY, (PROPELLING)

1шт.

10

PM30V00019S010

SPRING (F2 ONLY)

4шт.

11

NSS

NOT SOLD SEPARAT

PISTON (F3 ONLY)

4шт.

12

PM30V00019S012

SPRING

SPRING (F4 ONLY)

4шт.

101

NSS

NOT SOLD SEPARAT

BODY

1шт.

102

NSS

NOT SOLD SEPARAT

BODY

1шт.

201

PM30V00019S201

COVER

2шт.

202

PM30V00019S202

PLUG

4шт.

203

PM30V00019S203

CAP

4шт.

210

PM30V00019S210

PACKING

4шт.

211

PM30V00019S211

O-RING

4шт.

212

YT30V00009S212

O-RING

4шт.

213

ZD12P00800

O-RING,1.9mm Thk x 7.8mm ID, 90 Duro

ID 7.8mm x OD 9.7mm

2шт.

214

EN30V00045S214

ROD

4шт.

217

EN30V00024S217

SHIM

4шт.

218

PM30V00019S218

SPRING SEAT

4шт.

224

NSS

NOT SOLD SEPARAT

PISTON (F1, F2, F4 ONLY)

4шт.

225

2436U625S232

BALL

12шт.

251

YW30V00001S157

PLUG

3шт.

252

2441U722S490

PLUG

1/16" NPTF

2шт.

261

ZD12P01100

O-RING

ID 10.8mm x OD 13.2mm

3шт.

271

PM30V00019S271

CAPSCREW

SCREW

4шт.

301

NSS

NOT SOLD SEPARAT

SPOOL

4шт.

311

EN30V00045S311

SEAT

4шт.

313

EN30V00024S313

WASHER

4шт.

324

PM30V00019S324

SPRING

(F1, F2, F3 ONLY)

4шт.

335

PM30V00019S335

SPRING

(F1, F3, F4 ONLY)

4шт.

336

PM30V00019S336

SPRING

4шт.

413

EN30V00045S413

PIN

SHAFT, CAM

2шт.

414

EN30V00045S414

BUSHING

4шт.

420

NSS

NOT SOLD SEPARAT

CAM

2шт.

471

NSS

NOT SOLD SEPARAT

BALL

4шт.

472

EN30V00024S472

SCREW

2шт.

501

PM30V00019S501

BOOT

2шт.

PM30V00019R100

REPAIR KIT

CONSISTS OF REF 210(4), 211(4), 212(4), 213(2)

1шт.

PM30V00019R200

REPAIR KIT

CONSISTS OF REF 420(2), 471(4)

1шт.

PM30V00019R300

REPAIR KIT

BOOT, REPAIR KIT, CONSISTS OF REF. 413(1), 420(1), 472(1), 471(2)

1шт.

Выбрано товаров: 40