Качественные детали и логистика
Оригинальные и аналоговые запчасти с доставкой по России, Казахстану и Беларуси
©2022 PartSell ООО "Система" ИНН 2463123282 ОГРН 1212400004838
Центральный офис: г. Красноярск, Академика Киренского, д.87, пом.4
Телефон: 8 (800) 777-65-74 Email: zakaz@partsell.ru
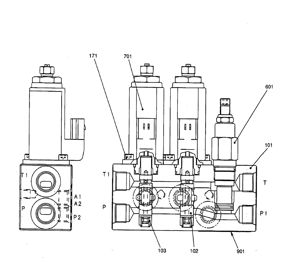
(08-044) - VALVE ASSEMBLY, SOLENOID
№
Артикул
Название
Примечание
Количество
PX35V00003F1
VALVE
ASSY, SOLENOID
1шт.
101
PX35V00003S101
CASE
102
PX35V00003S102
SPOOL
2шт.
103
2436U1459S5
SPRING
171
YX35V00002S171
SCREW,Hex Socket Head, M5 x 12mm
CAP
4шт.
601
YR22V00001F1
HYDRAULIC VALVE
ASSY, RELIEF, SEE FIG. 08-045
701
PX35V00003S701
SOLENOID
901
NSS
NOT SOLD SEPARAT
NAME PLATE
Выбрано товаров: 0