Запчасти Case CX50B (08-048) - VALVE ASSEMBLY, SOLENOID P/N PE35V00001F1 ELECTRICAL AND HYDRAULIC COMPONENTS

Схема запчастей Case CX50B - (08-048) - VALVE ASSEMBLY, SOLENOID P/N PE35V00001F1 ELECTRICAL AND HYDRAULIC COMPONENTS
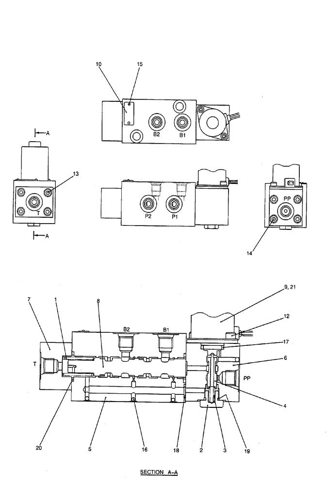
18
2
21
20
16
5
7
6
9
1
8
3
15
17
19
13
10
12
4
14
FIT
1:1
100%

Артикул

Название

Примечание

Количество

PE35V00001F1

SOLENOID VALVE

ASSY (Used for Slew/Swing Select)

1шт.

PE35V00001F2

SOLENOID VALVE

ASSY (Used for Slew/Swing Select)

1шт.

1

PE35V00001S001

SPRING

1шт.

2

2436U2159S3

PLUG

1шт.

3

2436U2802S3

SPRING

1шт.

4

YN35V00010S004

SPOOL

1шт.

5

NSS

NOT SOLD SEPARAT

BODY

1шт.

6

NSS

NOT SOLD SEPARAT

BODY

1шт.

7

YR35V00009S008

COVER

1шт.

8

NSS

NOT SOLD SEPARAT

SPOOL

1шт.

9

PE35V00001S002

SOLENOID

VALVE

1шт.

10

NSS

NOT SOLD SEPARAT

NAME PLATE

1шт.

12

EN35V00004S010

BOLT

CAP

2шт.

13

ZS23C06030

SCREW,Hex Socket Head, M6 x 30mm

CAP

4шт.

14

ZS23C06050

CAPSCREW,Hex Socket Head, M6 x 50mm

CAP

4шт.

15

YN30V00080S023

SCREW

RIVET

2шт.

16

NSS

NOT SOLD SEPARAT

BALL

4шт.

17

ZD11P01600

O-RING

1шт.

18

ZD12P00800

O-RING,1.9mm Thk x 7.8mm ID, 90 Duro

1шт.

19

ZD12P01000

O-RING

1шт.

20

ZD12P02100

O-RING,2.4mm Thk x 20.8mm ID, 90 Duro

2шт.

21

PY35V00005S005

SOLENOID

1шт.

Выбрано товаров: 0