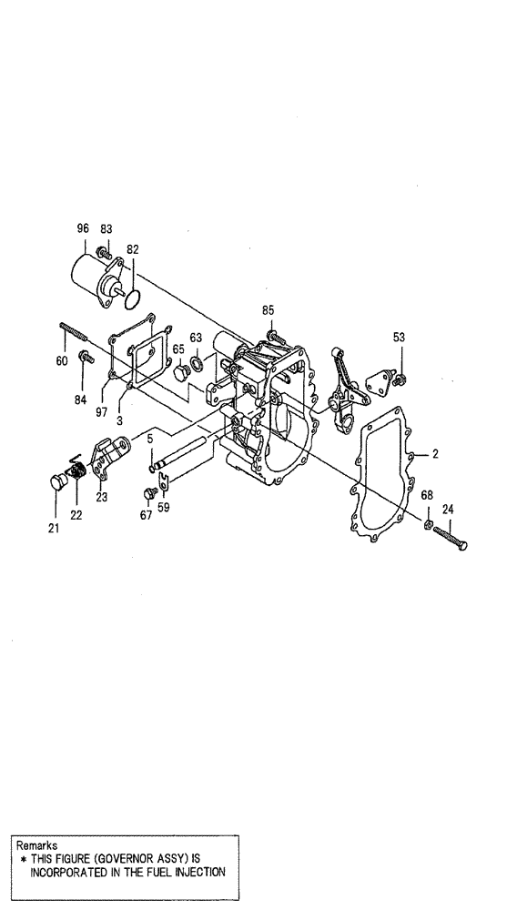
Запчасти Case CX50B (09-018) - GOVERNOR PARTS (INNER) ENGINE COMPONENTS

Схема запчастей Case CX50B - (09-018) - GOVERNOR PARTS (INNER) ENGINE COMPONENTS
59
23
83
67
5
97
68
60
85
24
2
84
82
22
53
63
65
21
96
FIT
1:1
100%

Артикул

Название

Примечание

Количество

2

VV15855361050

SEAL

PACKING, CASE

1шт.

3

VV15855361070

SEAL

PACKING

1шт.

5

VV12915551280

O-RING

O-RING S6

1шт.

21

VV12925561410

NUT

NUT

1шт.

22

VV11980761420

TORSION SPRING

SPRING

1шт.

23

VV15855261441

LEVER

LEVER, REGULATOR

1шт.

24

VV12915561460

BOLT

BOLT IDLE LIMIT

1шт.

53

VV26106060102

BOLT,M6 x 10mm

BOLT M6 X 10 PLATED

1шт.

59

VV11966061901

RETAINER

RETAINER, SHAFT

1шт.

60

VV17100266830

ADJUSTMENT SCREW

SCREW, ADJUST

1шт.

63

VV22190120000

SEAL

SEAL WASHER M12 (BOLT)

1шт.

65

VV23887120002

PLUG

PLUG M12, HEX.

1шт.

67

VV26106060102

BOLT,M6 x 10mm

BOLT M6 X 10 PLATED

1шт.

68

VV26756060002

LOCK NUT,M6

LOCK NUT M6

1шт.

82

VV24341000280

O-RING

O-RING 1A S-28.0

1шт.

83

VV26106060142

BOLT,M6 x 14mm

BOLT M6 X 14 PLATED

2шт.

84

VV26106060142

BOLT,M6 x 14mm

BOLT M6 X 14 PLATED

4шт.

85

VV26106060202

BOLT,M6 x 20mm

BOLT M6 X 20 PLATED

10шт.

96

VV11923377932

SOLENOID

Stop (Fuel Shut-Off)

1шт.

97

VV12964261060

COVER

COVER, CASE

1шт.

Выбрано товаров: 20