Запчасти Case CX55B (35.310.AA[05]) - CONTROL VALVE SECTION, SUPPLY, TRAVEL RIGHT, SERVICE AND BOOM SWING (35) - HYDRAULIC SYSTEMS

Схема запчастей Case CX55B - (35.310.AA[05]) - CONTROL VALVE SECTION, SUPPLY, TRAVEL RIGHT, SERVICE AND BOOM SWING (35) - HYDRAULIC SYSTEMS
18
30
42
14
22
40
5
8
26
3
37
9
34
41
33
13
38
19
3
35
6
1
27
29
7
24
37
28
21
4
2
16
17
15
23
25
36
38
31
20
11
40
32
10
12
39
FIT
1:1
100%

Артикул

Название

Примечание

Количество

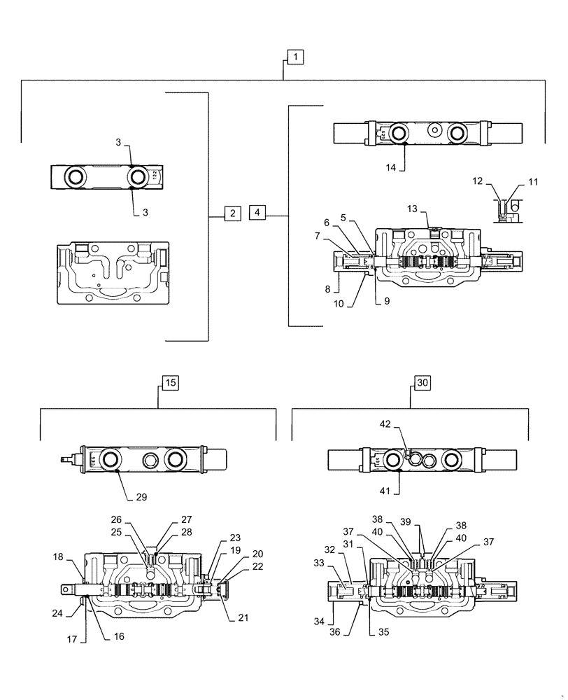
1

PS30V00002F1

CONTROL VALVE

Assy, Incl 2 - 42

1шт.

2

PS30V00010F1

CONTROL VALVE

Section Assy, Supply, Incl 3

1шт.

3

PS30V00007S014

O-RING

2шт.

4

PS30V00011F1

CONTROL VALVE

Section Assy, Travel Right, Incl 5 - 14

1шт.

5

PV30V00006S004

SEAT/SLOT

Spring

2шт.

6

PS30V00007S004

SPRING

2шт.

7

PS30V00007S005

SPRING SEAT

2шт.

8

PS30V00007S006

CAP

2шт.

9

PV30V00010S011

O-RING

2шт.

10

PV30V00010S012

SCREW

Socket Head

4шт.

11

PS30V00009S009

POPPET

1шт.

12

2436U1757S25

SPRING

1шт.

13

PS30V00008S033

PLUG

Assy

1шт.

14

PS30V00007S014

O-RING

1шт.

15

PS30V00012F1

CONTROL VALVE

Section Assy, Boom Swing, Incl 16 - 29

1шт.

16

2436R330S4

O-RING

2шт.

17

2436R330S5

GASKET

2шт.

18

PS30V00012S005

PLATE

Seal

2шт.

19

2436U216S28

SPRING

Seat

2шт.

20

2436R704S9

SPRING

1шт.

21

PH30V00058S008

SCREW

Cap

1шт.

22

PS30V00012S009

CAP

1шт.

23

ZS23C05012

BOLT,Hex Socket Head, M5 x 12mm

2шт.

24

PV30V00012S014

SCREW

2шт.

25

PS30V00007S009

POPPET

1шт.

26

PS30V00007S010

SPRING

1шт.

27

PS30V00007S011

PLUG

1шт.

28

ZD12P01100

O-RING

1шт.

29

PS30V00007014

O-RING

1шт.

30

PS30V00013F1

CONTROL VALVE

Section Assy, Service, Incl 31 - 42

1шт.

31

PV30V00006S004

SEAT/SLOT

Spring

2шт.

32

PS30V00007S004

SPRING

2шт.

33

PS30V00007S005

SPRING SEAT

2шт.

34

PS30V00007S006

CAP

2шт.

35

PV30V00010S011

O-RING

2шт.

36

PV30V00010S012

SCREW

Socket Head

4шт.

37

PS30V00007S009

POPPET

2шт.

38

PS30V00007S010

SPRING

2шт.

39

PS30V00007S011

PLUG

2шт.

40

ZD12P01100

O-RING

2шт.

41

PS30V00007S014

O-RING

1шт.

42

PS30V00013S015

POPPET

1шт.

Выбрано товаров: 42