Запчасти Case CX55B (35.310.AA[12]) - CONTROL VALVE SECTION, BOOM (35) - HYDRAULIC SYSTEMS

Схема запчастей Case CX55B - (35.310.AA[12]) - CONTROL VALVE SECTION, BOOM (35) - HYDRAULIC SYSTEMS
12
10
8
17
9
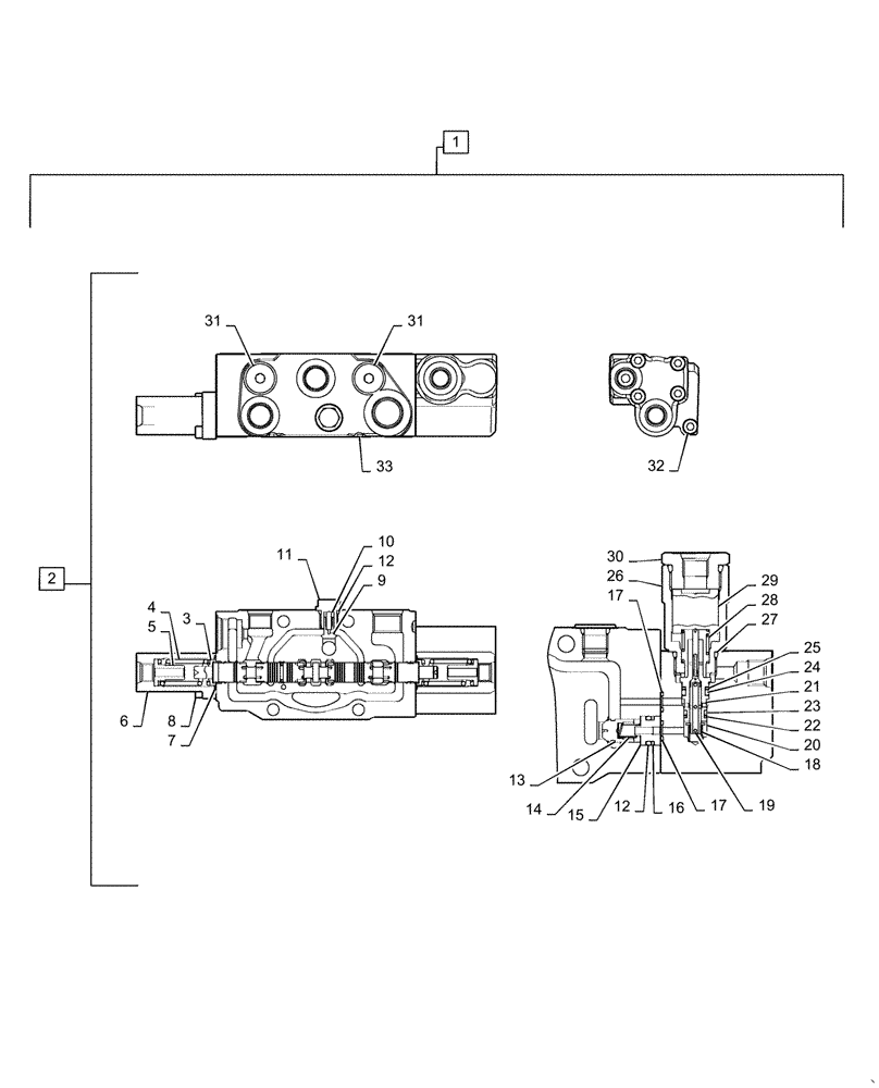
1
19
12
31
32
15
18
2
30
33
27
28
24
22
13
17
25
5
31
3
14
6
26
20
7
4
21
23
11
29
16
FIT
1:1
100%

Артикул

Название

Примечание

Количество

1

PS30V00004F1

CONTROL VALVE

Assy, Incl 2 - 33

1шт.

2

PS30V00008F1

CONTROL VALVE

Section Assy, Boom, Incl 3 - 33

1шт.

3

PV30V00006S004

SEAT/SLOT

Spring

2шт.

4

PS30V00007S004

SPRING

2шт.

5

PS30V00007S005

SPRING SEAT

2шт.

6

PS30V00007S006

CAP

1шт.

7

PV30V00010S011

O-RING

2шт.

8

PV30V00010S012

SCREW

Socket Head

2шт.

9

PS30V00007S009

POPPET

1шт.

10

PS30V00007S010

SPRING

1шт.

11

PS30V00007S011

PLUG

1шт.

12

ZD12P01100

O-RING

2шт.

13

PS30V00008S013

POPPET

1шт.

14

PS30V00008S014

SPRING

1шт.

15

PS30V00008S015

SPACER

1шт.

16

ZD85P01100

BACK-UP RING

1шт.

17

ZD12P00700

O-RING,1.6mm Thk x 6.8mm ID, 90 Duro

2шт.

18

YT30V00084S008

SPRING

1шт.

19

PS30V00008S020

POPPET

1шт.

20

YT30V00084S016

SPRING SEAT

1шт.

21

PS30V00008S022

SLEEVE

1шт.

22

ZD85P00900

BACK-UP RING

1шт.

23

2436R543S3

O-RING

1шт.

24

2436U1192S27

O-RING

1шт.

25

2436U1192S28

BACK-UP RING

1шт.

26

PS30V00008S028

PLUG

1шт.

27

2436U388S25

O-RING

1шт.

28

PS30V00008S030

SPRING

1шт.

29

PS30V00008S031

PISTON

1шт.

30

PS30V00008S032

PLUG

Assy

1шт.

31

PS30V00008S033

PLUG

Assy

2шт.

32

PV30V00007S014

SET SCREW

5шт.

33

PS30V00007S014

O-RING

1шт.

Выбрано товаров: 33