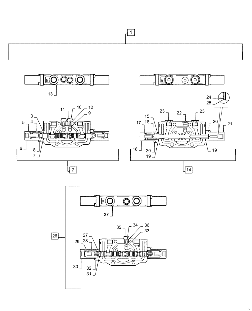
Запчасти Case CX55B (35.310.AA[14]) - CONTROL VALVE SECTION, ARM, ARM CONFLUENCE (JOINING), SLEWING (35) - HYDRAULIC SYSTEMS

Схема запчастей Case CX55B - (35.310.AA[14]) - CONTROL VALVE SECTION, ARM, ARM CONFLUENCE (JOINING), SLEWING (35) - HYDRAULIC SYSTEMS
7
17
1
4
9
2
32
8
5
29
36
16
20
30
23
14
25
23
31
6
3
19
21
35
20
12
13
11
27
34
15
19
22
26
33
10
37
18
28
24
FIT
1:1
100%

Артикул

Название

Примечание

Количество

1

PS30V00004F1

CONTROL VALVE

Assy, Incl 2 - 37

1шт.

2

PS30V00014F1

SPOOL

Section Assy, Arm, Incl 3 - 13

1шт.

3

PV30V00006S004

SEAT/SLOT

Spring

2шт.

4

PS30V00007S004

SPRING

2шт.

5

PS30V00007S005

SPRING SEAT

2шт.

6

PS30V00007S006

CAP

2шт.

7

PV30V00010S011

O-RING

2шт.

8

PV30V00010S012

SCREW

Socket Head

4шт.

9

PS30V00007S009

POPPET

2шт.

10

PS30V00007S010

SPRING

2шт.

11

PS30V00007S011

PLUG

2шт.

12

ZD12P01100

O-RING

2шт.

13

PS30V00007S014

O-RING

1шт.

14

PS30V00015F1

SPOOL

Section Assy, Arm Confluence, Incl 15 - 25

1шт.

15

PV30V00006S004

SEAT/SLOT

Spring

1шт.

16

PS30V00015S004

SPRING

1шт.

17

PS30V00007S005

SPRING SEAT

1шт.

18

PS30V00015S006

CAP

1шт.

19

PV30V00010S011

O-RING

2шт.

20

PV30V00010S012

SCREW

Socket Head

4шт.

21

PS30V00015S009

CAP

1шт.

22

PS30V00008S033

PLUG

Assy

1шт.

23

PA30V00001S018

PLUG

Assy

2шт.

24

PS30V00015S012

FILTER

1шт.

25

PS30V00015S013

WASHER

1шт.

26

PS30V00017F1

SPOOL

Section Assy, Slewing, Incl 27 - 37

1шт.

27

PV30V00006S004

SEAT/SLOT

Spring

2шт.

28

PS30V00007S004

SPRING

2шт.

29

PS30V00007S005

SPRING SEAT

2шт.

30

PS30V00007S006

CAP

2шт.

31

PV30V00010S011

O-RING

2шт.

32

PV30V00010S012

SCREW

Socket Head

4шт.

33

PS30V00007S009

POPPET

1шт.

34

PS30V00007S010

SPRING

1шт.

35

PS30V00007S011

PLUG

1шт.

36

ZD12P01100

O-RING

1шт.

37

PS30V00007S014

O-RING

1шт.

Выбрано товаров: 37